EasyManua.ls Logo

Danfoss FT1330 - Page 32

Danfoss FT1330
56 pages
Print Icon
To Next Page IconTo Next Page
To Next Page IconTo Next Page
To Previous Page IconTo Previous Page
To Previous Page IconTo Previous Page
Loading...
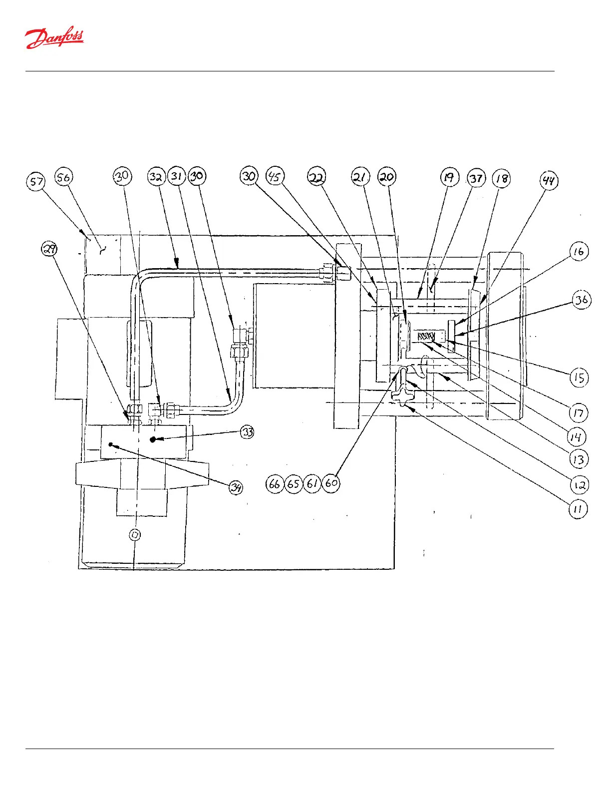
Danfoss FT1330 Crimp Machine Operators Manual
32 | © Danfoss FT1330 Crimp Machine Operator’s Manual | 2023.02.
AQ439269212774en-000101
FT1330 Crimp Machine Model B