EasyManua.ls Logo

Data Aire gPod - Field Piping, Water;Glycol System; Figure 7 - Typical Water;Glycol System

Default Icon
100 pages
Print Icon
To Next Page IconTo Next Page
To Next Page IconTo Next Page
To Previous Page IconTo Previous Page
To Previous Page IconTo Previous Page
Loading...
Installation, Operation and Maintenance Manual
Page 21 of 100
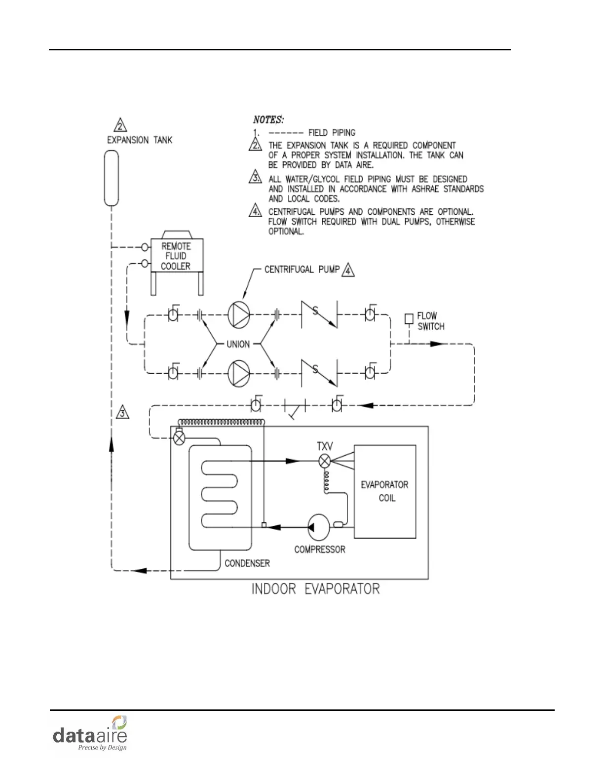
3.5.1 Field Piping, Water/Glycol System
Figure 7 - Typical Water/Glycol System

Table of Contents

Related product manuals