EasyManua.ls Logo

DAYE DYM1P64FA - Bezpečnostní Opatření Za Provozu; Nastartování Motoru; Provoz

Default Icon
80 pages
Print Icon
To Next Page IconTo Next Page
To Next Page IconTo Next Page
To Previous Page IconTo Previous Page
To Previous Page IconTo Previous Page
Loading...
5 / 20
PROVOZ
BEZPEČNOSTNÍ OPATŘENÍ ZA PROVOZU
Před prvním uvedením motoru do provozu se seznamte s kapitolou BEZPEČNOSTNÍ
INFORMACE na straně 3 a kapitolou KONTROLY PŘED UVEDENÍM DO PROVOZU výše.
VÝSTRAHA
Kysličník uhelnatý je toxický plyn. Při nadýchání může způsobit bezvědomí nebo i smrt.
Vyhněte se prostorům nebo činnostem, které vás mohou vystavit účinkům kysličníku uhelnatého.
Seznamte se se všemi bezpečnostními opatřeními, která musí být dodržena při startování, vypínání
nebo provozu motoru, uvedenými v návodu k obsluze zařízení poháněného tímto motorem.
NASTARTOVÁNÍ MOTORU
A1. POSTUP NASTARTOVÁNÍ STUDENÉHO MOTORU:
Přesuňte páčku plynu do polohy sytiče
. Stiskněte ovládací páku bezpečnostní brzdy (na
zařízení). Uchopte madlo startovací šňůry a pomalu vytahujte šňůru, dokud neucítíte odpor,
potom rychle silou zatáhněte za startovací šňůru, abyste překonali kompresi motoru a zabránili
zpětnému rázu, a nastartujte motor.
Po nastartování motoru přesuňte páčku plynu do polohy
.
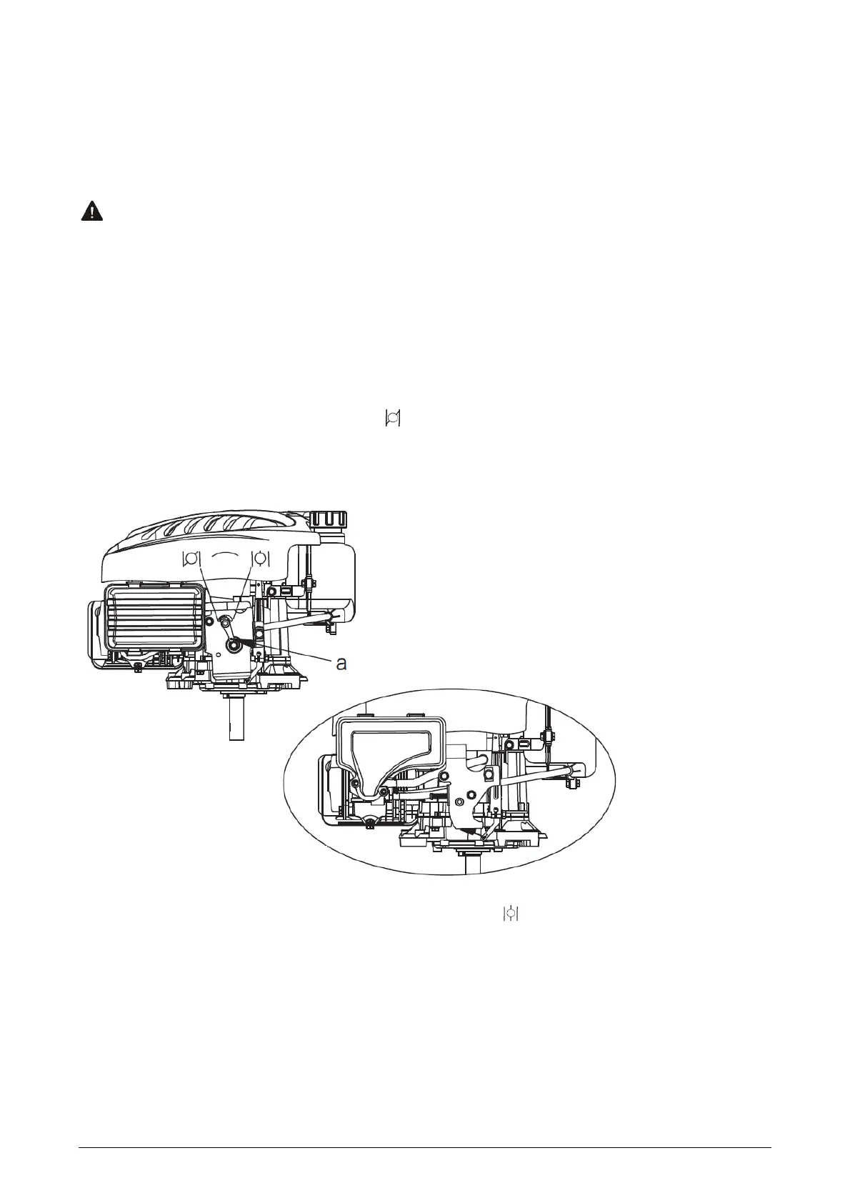
Typ B
Typ A
a: Ovládací páčka sytiče

Table of Contents

Related product manuals