EasyManua.ls Logo

DaytonAudio SUB-1000 - Hookup Guide; Line Level Inputs; High Level Inputs and Outputs; Controls and Features

Default Icon
2 pages
Print Icon
To Previous Page IconTo Previous Page
To Previous Page IconTo Previous Page
Loading...
Thank you for purchasing the Dayton Audio
®
SUB-1000 10" Powered Subwoofer.
It is the perfect addition to any home theater system. This powered sub features a
bottom firing flared port bass reflex design for reduced port noise and increased
bass response. It also utilizes a long throw 10" woofer and up to 100 watts of house
shaking power. This compact sub is finished in a non-obtrusive black veneer that will
complement any decor.
Hookup
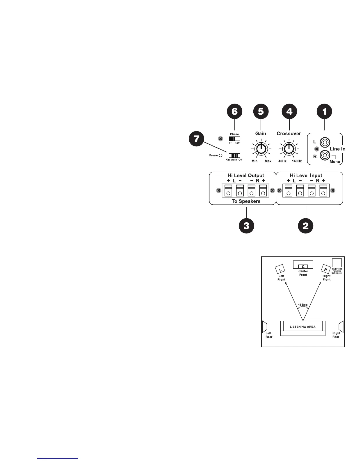
1. Line Level Inputs
The line level inputs are used to connect pre-out or preamplifier outputs directly
to the subwoofer amplifier’s internal crossover. These inputs are summed to
mono. This is the preferred way to connect the subwoofer amplifier. If you
have a mono line level signal from a “Pro Logic”or “Dolby Digital” receiver
use the right “red” input. Note: If a LFE mono output is connected, set the
crossover point to maximum.
2. High Level Inputs
If preamplifier outputs are not available, use the high-level (speaker) inputs. The
speaker level inputs can be connected directly to the amplifier by inserting the
speaker wire.
3. High Level Outputs
There are also high level outputs that can be used to connect to main speakers or
to another powered subwoofer with high level inputs. Note: High level outputs
are paralleled to the high level inputs with no high pass filter.
4. Crossover Frequency Control:
Continuously variable from 40 Hz to 140 Hz at 12 dB/octave. Set the frequency
control to where the audio does not sound “muddy”, normally between 60-80 Hz.
Note: If a LFE mono output is connected set the crossover point to maximum.
5. Gain Control:
Adjusts the output level of the subwoofer. Set the level to where the bass
frequencies blend with the other speakers. Note: Most people have a
tendency to set the level too high which, makes the audio sound “boomy”.
6. Phase Switch:
Selectable between 0° and 180°. This assists subwoofer placement. The
correct position will be the one that provides the greatest apparent bass output.
7. Power Switch (Auto On/Off):
When the power is in the auto position, the amplifier will automatically turn on
when a signal is present. Note: In auto/off mode, the power on LED is always on
(red), even when amp is in rest mode (off). The power LED will turn green when
the unit is activated.
Room Placement
The SUB-1000 Subwoofer
System will produce more
bass when it is placed
in a corner. Choose a
corner that is close to the
component area and place
it at the front of the listening
area. See diagram:
Specifications
Dimensions: 14-3/4" H x
14-3/16" W x 15-3/4" D
Frequency Response:
30 Hz-140 Hz
Woofer: 10" long throw
Power: 100W
Voltage: 120 VAC / 60 Hz
Net weight: 32 lbs.

Related product manuals