EasyManua.ls Logo

DEEP SEA ELECTRONICS DSECONTROL DSE7320 - Single Phase Without Earth Fault

DEEP SEA ELECTRONICS DSECONTROL DSE7320
78 pages
Print Icon
To Next Page IconTo Next Page
To Next Page IconTo Next Page
To Previous Page IconTo Previous Page
To Previous Page IconTo Previous Page
Loading...
DSE Model 7000 Series Control & Instrumentation System Operators Manual
Part No. 057-074 7000 Series OPERATING MANUAL ISSUE 2 02/05/2008 ADM
31
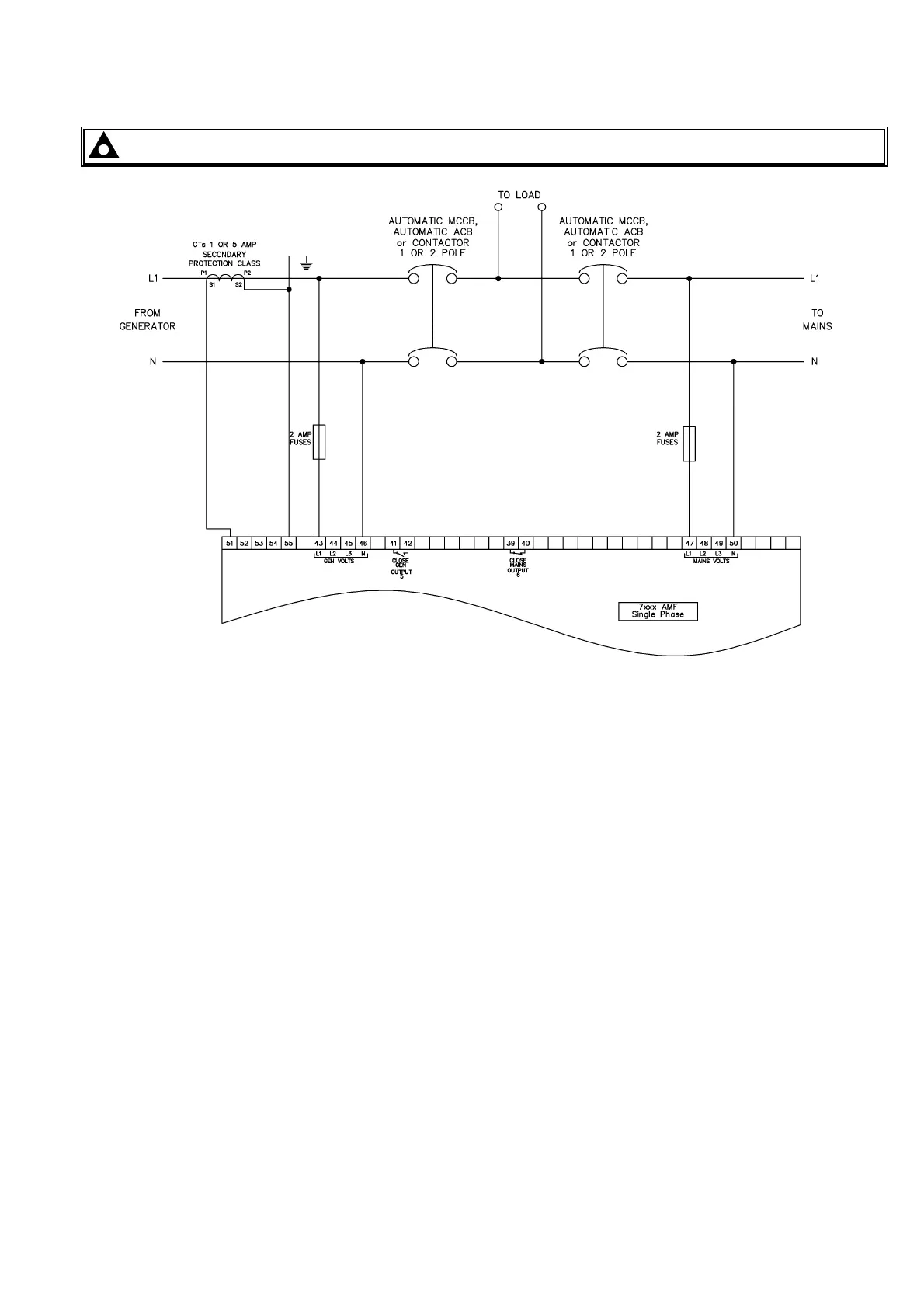
4.4.3 SINGLE PHASE WITHOUT EARTH FAULT
NOTE:- Mains sensing (Terminals 47-50) is not fitted to DSE7210/ DSE7310 autostart controllers.

Table of Contents

Related product manuals