EasyManua.ls Logo

Dell External OEMR R210II - Back-Panel Features and Indicators

Dell External OEMR R210II
126 pages
To Next Page IconTo Next Page
To Next Page IconTo Next Page
To Previous Page IconTo Previous Page
To Previous Page IconTo Previous Page
Loading...
14 About Your System
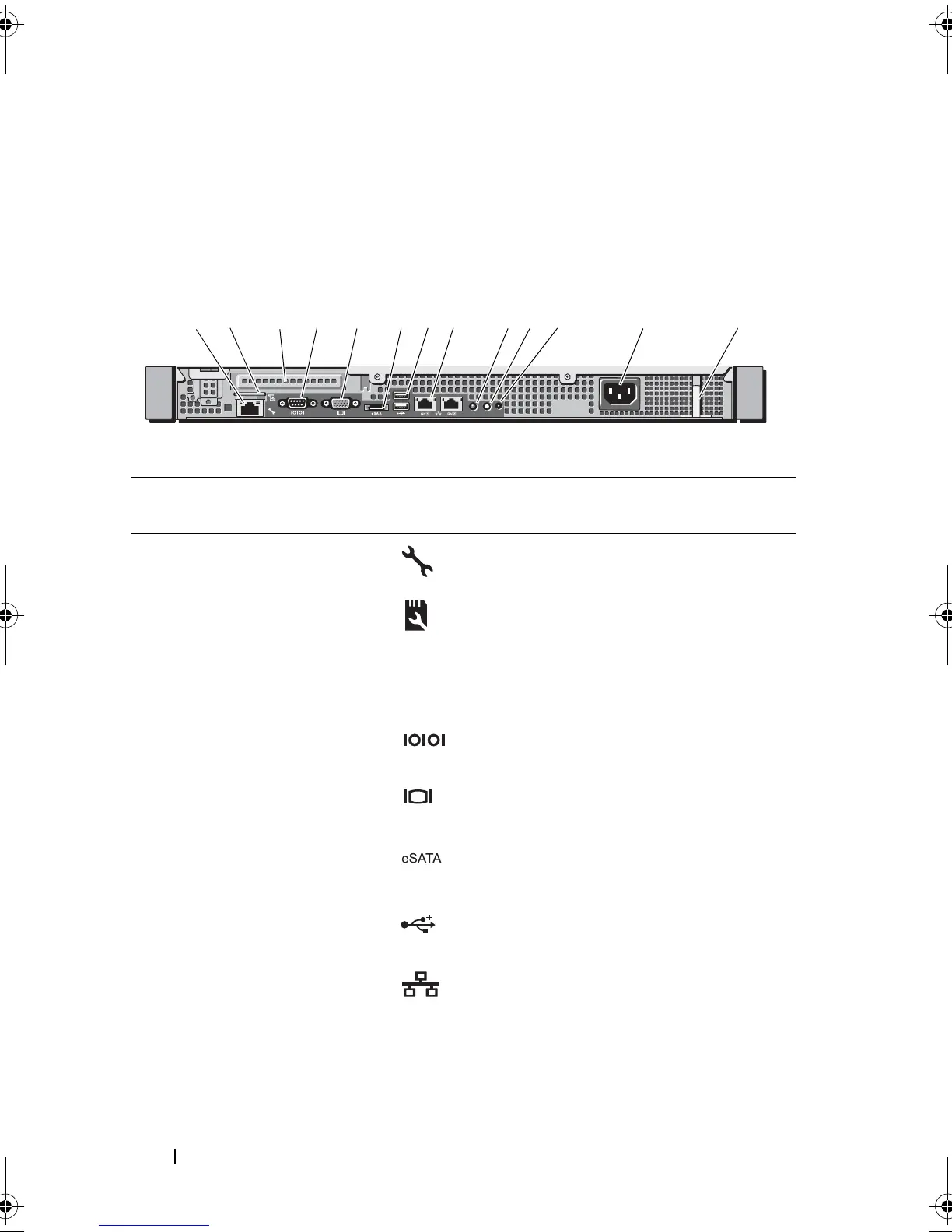
Back-Panel Features and Indicators
Figure 1-2 shows the controls, indicators, and connectors located on the
system's back panel.
Figure 1-2. Back-Panel Features and Indicators
Item Indicator, Button, or
Connector
Icon Description
1 iDRAC6 Enterprise
port (optional)
Dedicated management port for the
optional iDRAC6 Enterprise card.
2 VFlash media slot
(optional)
Connects an external SD memory card
for the optional iDRAC6 Enterprise
card.
3PCIe expansion card
slot
Connects a PCI Express expansion
card.
4 Serial connector Connects a serial device to the system.
5 Video connector Connects a VGA display to the system.
6 eSATA Connects additional storage devices.
7 USB connectors (2) Connect USB devices to the system.
The ports are USB 2.0-compliant.
8 Ethernet connectors (2) Embedded 10/100/1000 NIC
connectors.
12 4
13
5678 91011 12
3
book.book Page 14 Monday, March 7, 2011 2:24 PM

Table of Contents

Other manuals for Dell External OEMR R210II

Related product manuals