EasyManua.ls Logo

Delta Electronics ASDA-A2 Series - Page 151

Delta Electronics ASDA-A2 Series
583 pages
Print Icon
To Next Page IconTo Next Page
To Next Page IconTo Next Page
To Previous Page IconTo Previous Page
To Previous Page IconTo Previous Page
Loading...
Chapter 6 Control Modes of Operation
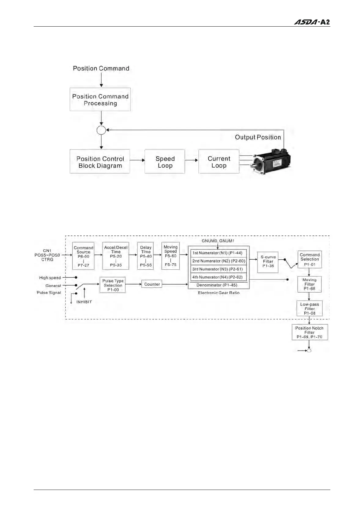
6.2.3 Structure of Position Control Mode
Basic Structure:
In order to pursue the goal of perfection in position control, the pulse signal should be
modified through position command processing and the structure is shown as the figure
below:
ASDA-A2 Series:
Using parameter can select PR mode and PT mode. Electronic gear ratio can be set in both
two modes to set proper position revolution. ASDA-A2 series servo drives also provide S-
curve and low-pass filter, which are used whenever the motor and load need to be
operated more smoothly. As for the information of electronic gear ratio, S-curve and low-
pass filter, please refer to the following sections 6.2.4, 6.2.5 and 6.2.6.
6-8 Revision January 2011
Call 1(800)985-6929 for Sales
deltaacdrives.com
sales@deltaacdrives.com
Call 1(800)985-6929 for Sales
deltaacdrives.com
sales@deltaacdrives.com

Related product manuals