EasyManua.ls Logo

Delta VFD015CB43A-20 - Wiring Diagram

Delta VFD015CB43A-20
363 pages
Print Icon
To Next Page IconTo Next Page
To Next Page IconTo Next Page
To Previous Page IconTo Previous Page
To Previous Page IconTo Previous Page
Loading...
Chapter 4 Wiring|C200 Series
4-2
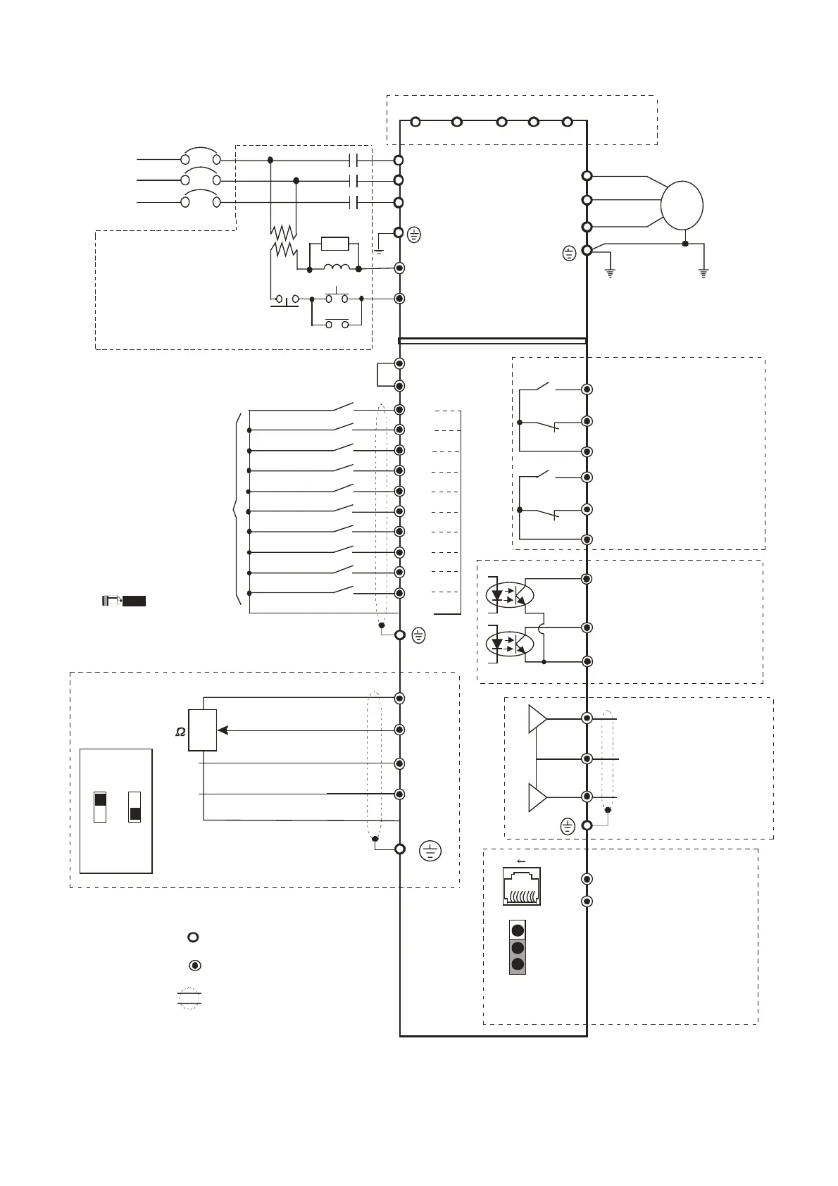
Wiring Diagram
* It provides 1-phase/3-phase power
R(L1)
S(L2)
T(L3)
R(L1)
S(L2)
T(L3)
U(T1)
V(T2)
W(T3)
IM
3~
+2
B1 B2DC-
Fuse/NFB(No Fuse Breaker)
Motor
OFF
ON
MC
MC
It is recommended to install a
protective cir cuit at RB-RC
to protect it from system
damage.
RB 1
RC 1
When fault occurs, the
contact will switch ON to shut
the power and protect the power system.
250Vac/5A (N.O.)
250Vac/3A (N.C.)
NOTE
AFM1
ACM
RA1
RB1
RC1
FWD
REV
MI1
MI3
MI4
MI5
MI6
MI7
DCM
MI2
MI8
COM
AFM2
RA2
RB2
RC2
+24V
30Vdc/5A (N.O.)
30Vdc/3A (N.C.)
250Vac/1.2A (N.C.)
Estimate at COS (0.4)
250Vac/2A (N.O.)
Estimate at COS (0.4)
Analog Signal common
Analog Signal Common
* Do NOT apply the mains voltage directly
to above terminals.
* MI7, MI8 can input pulses 33kHz
Digital Signal Common
Factory setting: NPN (SINK) Mode
Please refer to Figure 1 for wiring
of NPN mode and
PNP mode.
Factory
setting
Analog Multi-function
Output Terminal
0~10VDC
Analog Multi-function
Output Terminal
0~20mA/4-20mA
Multi-f unction output terminals
FWD/STOP
REV/STOP
Mul ti-step 1
Multi-step 2
Multi-step 3
Multi-step 4
N/A
N/A
N/A
N/A
Multi-function output
frequency terminals
30V30mA 33kHz
Main circuit (power) terminals
Control terminals
Shielded leads & Cable
+1/DC+
Please refer to chapter 5 Main Circuit Terminals
SA
DFM1
DCM
Multi-function
Photocoupler Output
DFM2
81
Modbus RS-485
SG+
SG
PIN 3:GND
PIN 4:SG-
PIN 5:SG+
OPEN
120
485
J5
PIN 1: CAN H
PIN 2: CAN L
PIN 3, 7:GND
PIN 6: Reserved
PIN 8: EV
CANopen
AV I
ACM
+10V
5K
3
2
1
0~10V/0~20mA
ACI
AUI
0/4~20mA/0~10V
-10~+10V
+10V/20mA
SW1
0-10V
0-20mA
4-20mA
ACI
AVI
12
Call 1(800)985-6929 for Sales
deltaacdrives.com
sales@deltaacdrives.com
Call 1(800)985-6929 for Sales
deltaacdrives.com
sales@deltaacdrives.com

Related product manuals