EasyManua.ls Logo

Denyo DCA-30ESX - Page 73

Denyo DCA-30ESX
79 pages
Print Icon
To Next Page IconTo Next Page
To Next Page IconTo Next Page
To Previous Page IconTo Previous Page
To Previous Page IconTo Previous Page
Loading...
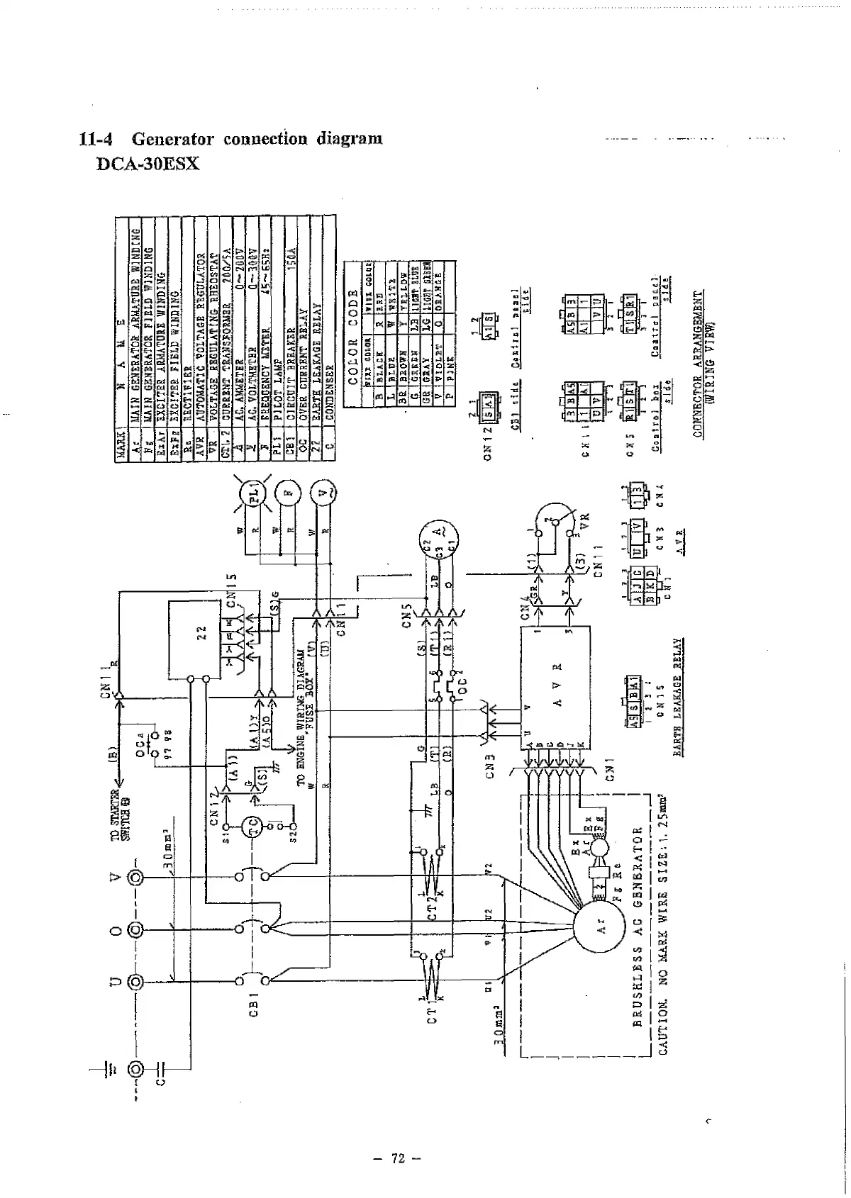
11-4 Generator connection diagram
DCA-30ESX
(A
a
a
О
l>
к
n
ptl
p i
**
t*
ft
О
.-4
w
и
s
14
e-
ш
4Э
*-
К
(9
*0
CJ
ас
<
(#
о
e_>
c< in
Ft
p4
С *
й
О
P i
о
о n
u ; A PJ
о
a W
* >*
_}
p
6 i i
-<
О
о
-1
p i p i
Р*
4
о
A
(14
04
О
О
рц.
A
h4
Ctf
A
О
0 3
а
>
А
«j
tn
%
О
" E
t
PS
(A
Ш
ti
-<
pd
ed 1
О *
e-j
o]
О
О
<
fat
-<
<-
- 12 -

Related product manuals