EasyManua.ls Logo

Digital View DRR-113 - Front Panel Overview

Default Icon
19 pages
Print Icon
To Next Page IconTo Next Page
To Next Page IconTo Next Page
To Previous Page IconTo Previous Page
To Previous Page IconTo Previous Page
Loading...
4 DRR-103 Front and Rear Panel
DRR-103 Front and Rear Panel 5
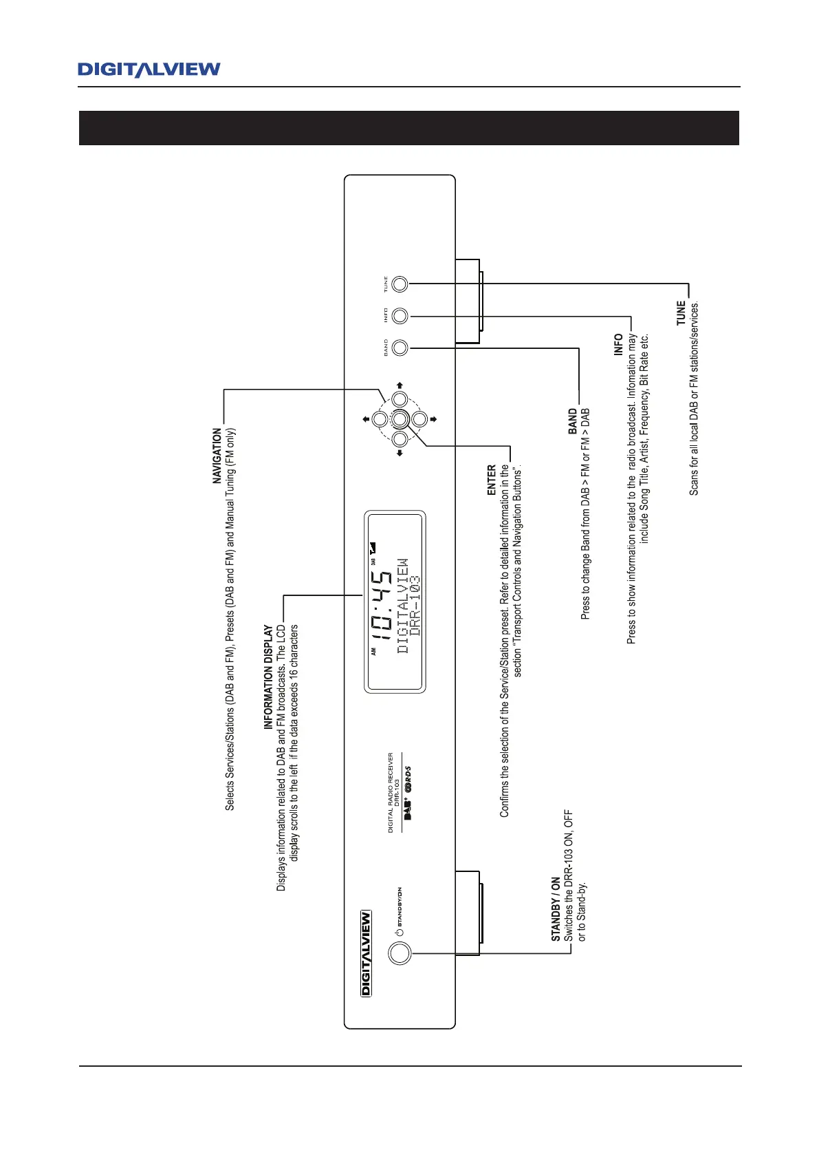
Front Panel Overview