EasyManua.ls Logo

Digitus DN-651160 - Management System Login

Digitus DN-651160
12 pages
Print Icon
To Next Page IconTo Next Page
To Next Page IconTo Next Page
To Previous Page IconTo Previous Page
To Previous Page IconTo Previous Page
Loading...
11
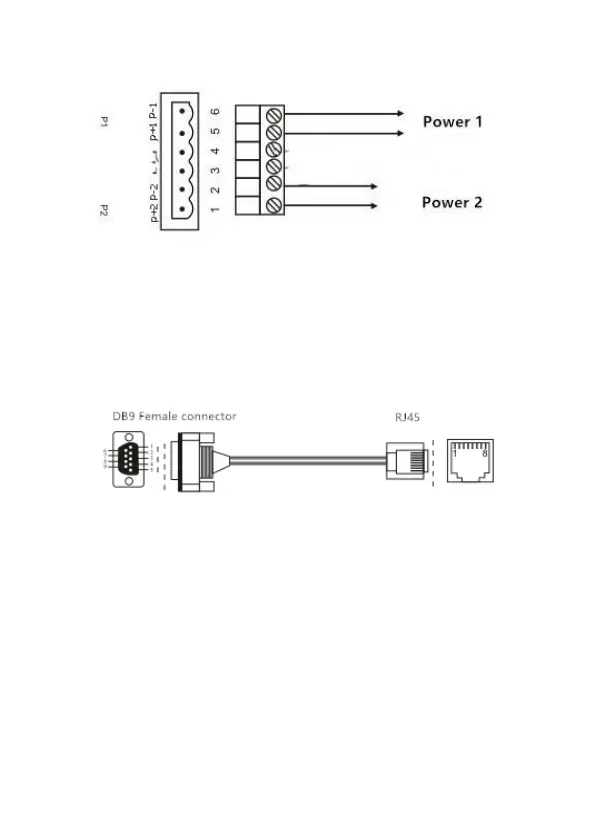
8. Management system Login
This series of Managed ethernet switches provides a
serial port-based management system program
debugging port. Located at the front of panel to log in
to the command line.
Console port: baud rate 115200
Web IP: 192.168.10.12
User name: admin
Password: admin
For detail Web manual support, please visit product
website at www.assmann.com

Related product manuals