EasyManua.ls Logo

Digitus DN-652120 - Page 11

Digitus DN-652120
12 pages
To Next Page IconTo Next Page
To Next Page IconTo Next Page
To Previous Page IconTo Previous Page
To Previous Page IconTo Previous Page
Loading...
11
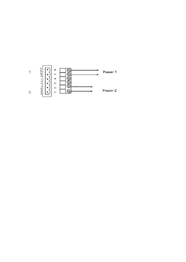
first power supply P1, and P+2 and P-2 input corresponding
to the second power supply P2). The available voltage
standard of the power supply is supported from 48VDC to
57VDC.

Related product manuals