EasyManua.ls Logo

Dimplex SI 11ME - Last; Load; Charge

Dimplex SI 11ME
24 pages
Print Icon
To Next Page IconTo Next Page
To Next Page IconTo Next Page
To Previous Page IconTo Previous Page
To Previous Page IconTo Previous Page
Loading...
www.dimplex.de A-IX
Anhang · Appendix · Annexes
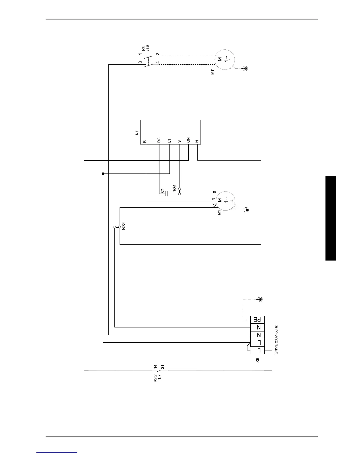
3.2
3.2 Last / Load / Charge

Table of Contents

Related product manuals