EasyManua.ls Logo

Directed Electronics Viper 350HV - Page 5

Directed Electronics Viper 350HV
29 pages
Print Icon
To Next Page IconTo Next Page
To Next Page IconTo Next Page
To Previous Page IconTo Previous Page
To Previous Page IconTo Previous Page
Loading...
©
2005
Directed Electronics, Inc. all rights reserved
5
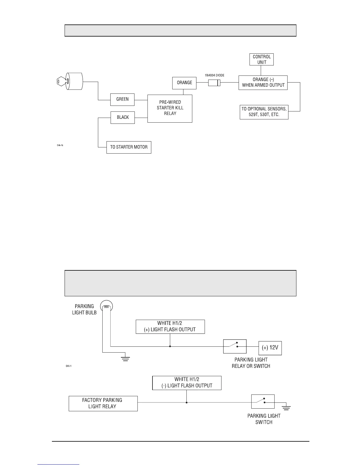
H1/2 WHITE (+/-) light flash output
As shipped, the H1/2 WHITE wire should be connected to the (+) parking light wire. If the light flash
polarity jumper is moved to the (-) position (see the
Programming Jumper
section of this installation
guide), this wire supplies a (-) 200 mA output. This is suitable for driving (-) light control wires in
Toyota, Lexus, BMW, some Mitsubishi, some Mazda, and other models.
NOTE: For parking light systems that draw 10 amps or more, the jumper must be switched to a
(-) light flash output (see the
Programming Jumpers
section of this guide). P/N 8617 or a standard
automotive SPDT relay must be used on the H1/2 light flash output wire.
IMPORTANT! DO NOT connect this wire to a negative vehicle light flash wire before
changing the programming jumper to the negative polarity position or damage to
vehicle light circuit may occur.
IMPORTANT! Never interrupt any wire other than the starter wire.

Related product manuals