EasyManua.ls Logo

Doosan D25G - Lift Relay Group - Full Free Triple Lift

Doosan D25G
74 pages
Print Icon
To Next Page IconTo Next Page
To Next Page IconTo Next Page
To Previous Page IconTo Previous Page
To Previous Page IconTo Previous Page
Loading...
Vehicle System Specification 12
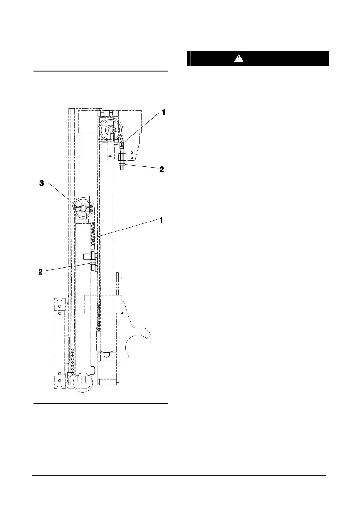
Lift Relay Group - Full Free Triple
Lift
WARNING
Do not put a lift truck into service if the chain
wear indication is 2% or more. A reading of 2%
or more could cause damage or injury to
persons.
(1) Maximum chain wear ....................Less than 2%
(See Chain Wear in TESTING & ADJUSTING).
(2) Put LOCTITE NO. 242 Thread Lock on the
threads of the relay group locknuts after
adjustment of the lift chains is completed.
(3) Tighten bolts until contact is made with guide
assembly.
(4) Distance from bottom of inner mast to bottom of
lower bearing on carriage must be 41±1.5 mm
(1.61±0.6 in). Bottom of inner mast be even
(flush) with bottom of stationary mast. Adjust
inner mast first.

Table of Contents

Other manuals for Doosan D25G

Related product manuals