EasyManua.ls Logo

DR Premier Field - Page 29

DR Premier Field
32 pages
Print Icon
To Next Page IconTo Next Page
To Next Page IconTo Next Page
To Previous Page IconTo Previous Page
To Previous Page IconTo Previous Page
Loading...
CONTACT US AT www.DRpower.com 29
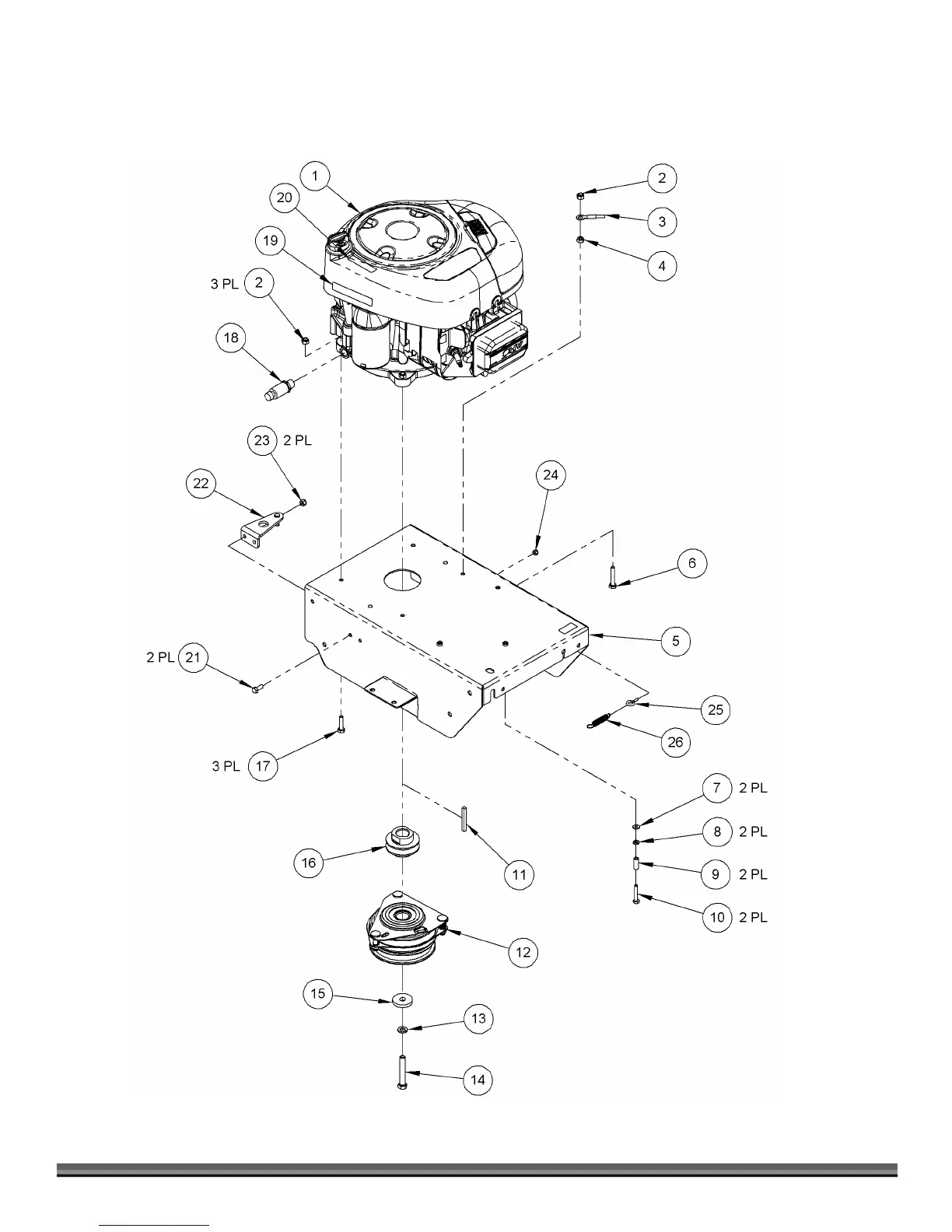
Schematic – ENGINE AND CLUTCH ASSEMBLY

Related product manuals