EasyManua.ls Logo

Ducati Monster 600 2001 - Assiette du Phare

Ducati Monster 600 2001
Print Icon
To Next Page IconTo Next Page
To Next Page IconTo Next Page
To Previous Page IconTo Previous Page
To Previous Page IconTo Previous Page
Loading...
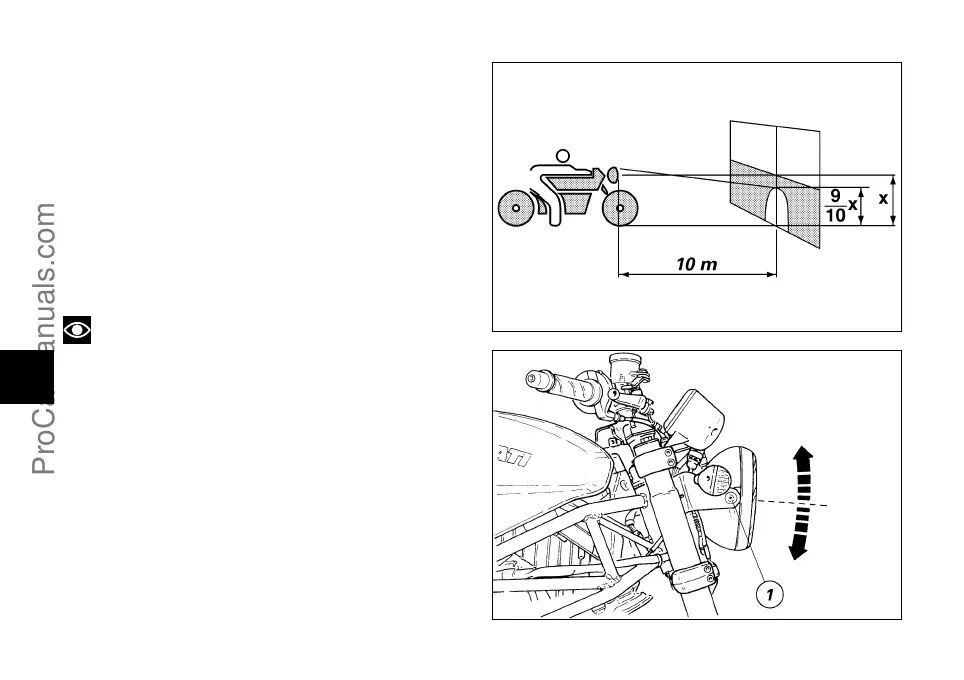
Assiette du phare (fig. 38.1)
Pour contrôler si le phare est bien positionné, mettez le
motocycle, pneus gonflés à la pression prescrite et une
personne assise en selle, parfaitement à laplomb de son
axe longitudinal et en face dun mur ou écran, à une
distance de 10 m de celui-ci. Tracez une ligne horizontale
correspondant à la hauteur du centre du phare et une
autre verticale alignée à laxe longitudinal du motocycle.
Effectuez le contrôle en pénombre autant que possible.
Allumez le feu de croisement:
la limite supérieure de démarcation entre la zone sombre
et la zone éclairée ne doit pas dépasser en hauteur 9/10
de la distance comprise entre le sol et le centre du phare.
Notes
La procédure décrite est établie par la
"Règlementation Italienne" au sujet de la hauteur
maximum du faisceau lumineux.
Conformez cette procédure aux prescriptions en vigueur
dans le pays où le motocycle est utilisé.
La retouche de lassiette verticale du phare seffectue en
intervenant sur les vis (1, fig. 38.2) le fixant aux supports
latéraux.
46
F
fig. 38.1
fig. 38.2
ProCarManuals.com

Table of Contents