EasyManua.ls Logo

Ducati Monster 600 2001 - Orientamento del Proiettore

Ducati Monster 600 2001
Print Icon
To Next Page IconTo Next Page
To Next Page IconTo Next Page
To Previous Page IconTo Previous Page
To Previous Page IconTo Previous Page
Loading...
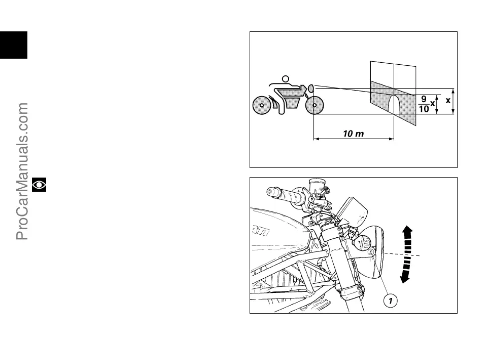
Orientamento del proiettore (fig. 38.1)
Controllare se il proiettore è correttamente orientato
mettendo il motociclo, con i pneumatici gonfiati alla
giusta pressione e con una persona seduta in sella,
perfettamente perpendicolare con il suo asse
longitudinale di fronte ad una parete o ad uno schermo,
distante da esso 10 metri. Tracciare una linea orizzontale
corrispondente allaltezza del centro del proiettore e una
verticale in linea con lasse longitudinale del motociclo.
Effettuare il controllo possibilmente nella penombra.
Accendere la luce anabbagliante:
il limite superiore di demarcazione tra la zona oscura e la
zona illuminata deve risultare ad una altezza non
superiore a 9/10 dellaltezza da terra del centro del
proiettore.
Note
La procedura descritta è quella stabilita dalla
Normativa Italiana per quanto concerne laltezza
massima del fascio luminoso.
Adeguare la procedura alle normative in vigore nel paese
dove viene utilizzato il motociclo.
La correzione dellorientamento verticale del proiettore si
effettua agendo sulle viti (1, fig. 38.2) che lo fissano ai
supporti laterali.
46
I
fig. 38.1
fig. 38.2
ProCarManuals.com

Table of Contents

Related product manuals