EasyManua.ls Logo

Dyna-Glo BF10PTDG-4 - Page 43

Dyna-Glo BF10PTDG-4
60 pages
Print Icon
To Next Page IconTo Next Page
To Next Page IconTo Next Page
To Previous Page IconTo Previous Page
To Previous Page IconTo Previous Page
Loading...
13
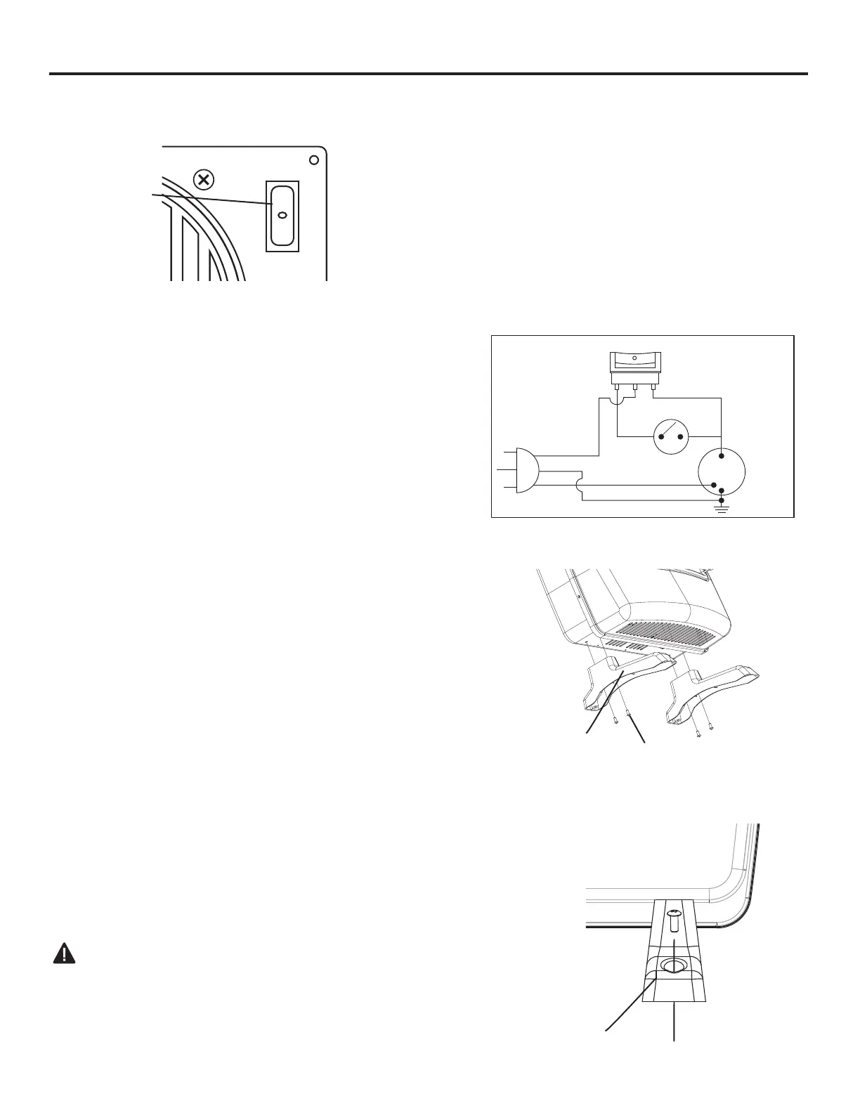
MAN AUTO
Interruptor del ventilador
Interruptor térmico
Ventilador
Blanco
Negro
Verde
110/115
VAC
Wiring Diagram
Fig.12-Diagramadelcableadodelventilador
MAN AUTO
Fig. 11 - Ventilador de operación
CÓMO UBICAR EL CALEFACTOR
Estecalefactorestádiseñadoparasermontadoenunapared
o en el piso, usando las patas de soporte (Modelos seleccio-
nados) incluidas con el calefactor.
Porconvenienciayeciencia,instaleelcalefactor:
1.Dondehayafácilaccesoparalaoperación,
inspección y servicio.
2.Enlapartemásfríadelahabitación.
3.Aunadistanciamínimade3piesdemueblesy
cortinajes.
MONTAJE EN EL PISO
(Modelos seleccionados)
( No se puede hacer en el dormitorio o cuarto de baño)
(No puede utilizarse para calentadores de garaje y
casa de hielo)
NOTA : Este es un accesorio opcional y no es necesa-
rio para el funcionamiento del calentador.
Antesdeinstalarlaspatasdesoporteenlabasedelcale-
factor,asegúresedetenerlossiguienteselementos:
(2) Patas de soporte
(4) Tornillos de las patas de soporte (M4*15)
1.Pongaabajounamantasobrelamesadondese
colocará el calentador para prevenir que la instalación
de la pierna evite rallar la mesa o el calentador.
2.Coloquelapartedeatrássobrelamesaconelfon
dodelcalefactorextendiéndosehaciaafueradel
bordedelamesa.
3. Sujete las patas de soporte al calefactor usando los
tornillos de las patas de soporte (Fig.13)
Nota: Si el calefactor va a ser instalado directamente so-
brealfombra,baldosauotromaterialcombustiblequeno
seapisodemadera,elaparatodebeserinstaladosobre
un y panel metálico o de madera que se extienda
enlaanchurayprofundidadcompletasdelaparato.
3. Una vez en su posición, asegure el calefactor al piso
usando los tornillos de las patas soporte (M4*15) y aguje-
ros de montaje que se encuentran en las patas de soporte
del calefactor (Ver Fig. 14).
MONTAJE EN PARED
ADVERTENCIA: No colocar las piezas de acuerdo
con estos diagramas o no usar solamente piezas
especícamenteaprobadasconestecalefactorpuede
resultarendañosalapropiadadolesionespersonales.
Soporte de montaje
Elsoportedemontajeestáubicadosituadoporseparado
desde el calentador, pero en la misma caja.
INSTALACIÓN
Pata soporte
Fig. 14 - Cómo asegurar la pata soporte
Balancín del
ventilador
Interruptor
Fig. 13 - Instalación de las patas
Tornillo de
pata soporte
Pata soporte
Precaución:Etiquetetodosloscables
antes de la desconexión al servicio de los
controles.Loserroresdecableadopueden
causar un funcionamiento incorrecto y
peligroso.
Sialgunodeloscablesoriginalesquese
suministraconelaparatodebeserre-
emplazado,debesersustituidoporun
cabledealmenosun60°gradodela
temperatura C .
Vericarelfuncionamientocorrecto
después del servicio.

Related product manuals