EasyManua.ls Logo

Dyna-Glo BF10PTDG-4 - Page 47

Dyna-Glo BF10PTDG-4
60 pages
Print Icon
To Next Page IconTo Next Page
To Next Page IconTo Next Page
To Previous Page IconTo Previous Page
To Previous Page IconTo Previous Page
Loading...
17
INSTALACIÓN
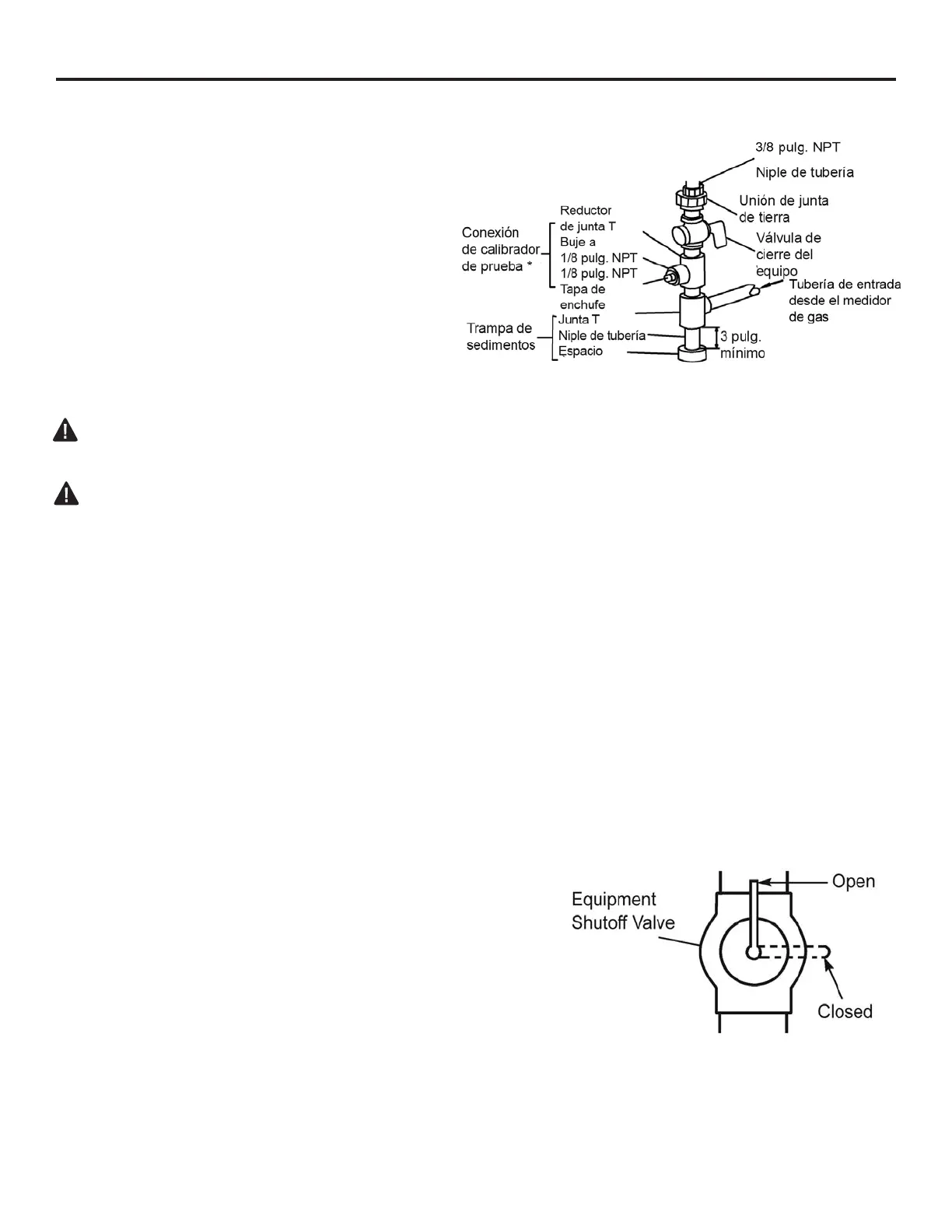
Instale una trampa de sedimentos en la línea de
suministro como se muestra (Ver Fig. 20). Coloque
la trampa de sedimentos donde resulte fácil de
acceder para su limpieza. Coloque la trampa de
sedimentosdondenoexistalaprobabilidaddeque
el material atrapado se congele. Una trampa de
sedimentosatrapalahumedadycontaminantes.
Esto evita que se vayan a los controles del cale-
factor. Si la trampa de sedimentos no está instala-
da o está instalada incorrectamente, el calefactor
puede no funcionar apropiadamente.
Fig. 20 - Conexión del gas
REVISIÓN DE LAS CONEXIONES DE GAS
ADVERTENCIA: Pruebetodalatuberíayconexionesdegasencontradefugasdespuésdela
instalación y el servicio. Corrija todas las fugas de inmediato.
ADVERTENCIA:Nuncauseunallamaabiertapararevisarenbuscadefugas.Apliqueuna
mezcla50/50dejabónlíquidoyaguaentodaslasjuntas.Siseformanburbujas,puedehaberuna
fuga. Corrija todas las fugas de inmediato.
Prueba de presión del sistema de tuberías del suministro de gas Presiones de prueba
mayores de 1/2 PSIG ( 3.5kPa )
Elaparatoysuválvuladegasprincipaldebenestardesconectadosdelsistemadetuberíade
suministrodegasdurantecualquierpruebadepresióndeesesistemaapresionesdeprueba
mayoresde½psi(3.5kPa).
Presión de prueba del suministro de gas igual o mayor que
1/2 PSIG ( 3.5kPa )
Elaparatodebeaislarsedelsistemadetuberíadesuministrodegascerrandosuválvuladecierre
delequipodurantecualquierpruebadepresióndelsistemadetuberíadesuministrodegasa
presionesdepruebaigualesomayoresque½psi(3.5kPa).
Prueba de fugas de las conexiones internas de
gas del calefactor
1. Abralaválvuladecierredelequípo(VerFig.21).
2. Asegúrese de que la perilla de control del calefactor esté
en la posición OFF.
3. Abralaválvuladeltanquedesuministrodegas(Sistemas
de PL).
4. Revise todas las juntas de la válvula de cierre del equipo
a la válvula de control. Aplique una mezcla 50/50 de
jabónlíquidoyaguaenlasjuntasdegas.Siseforman
burbujas,puedehaberunafuga.
5. Enciendaelcalefactor(verOperación,página18).
Revisetodaslasotrasjuntasinternasenbuscadefugas.
6. Apagueelcalefactor(ver"Apagarelgasalaparato",página19).
Fig. 21 - Válvula de cierre del equipo

Related product manuals