EasyManua.ls Logo

E.C.A. KRONOS KR 24 HM - Page 11

E.C.A. KRONOS KR 24 HM
36 pages
Print Icon
To Next Page IconTo Next Page
To Next Page IconTo Next Page
To Previous Page IconTo Previous Page
To Previous Page IconTo Previous Page
Loading...
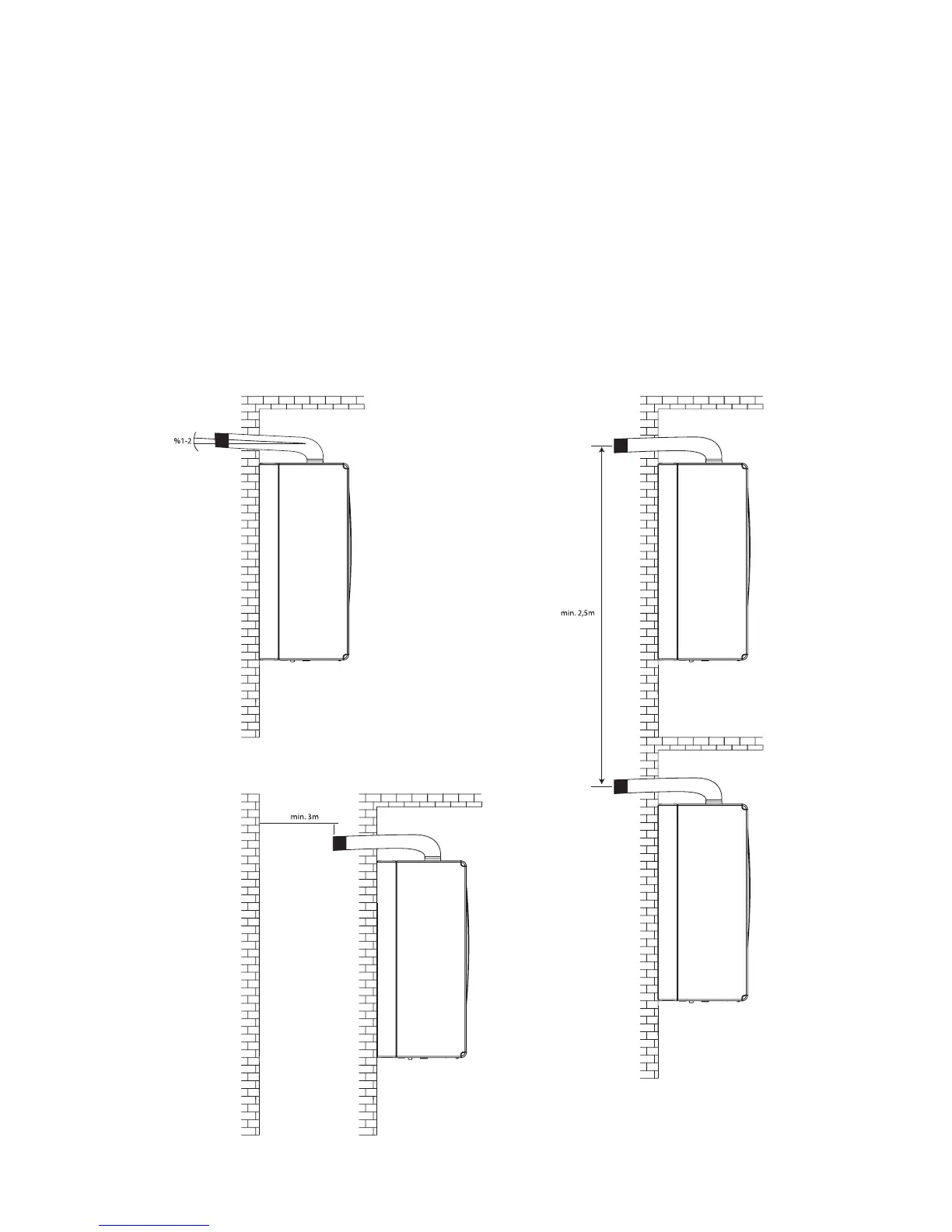
The condensing appliances should be installed with an upward slope of 1-2% to the outside so that
the condensation water does not flow out. (Figure 5a)
The distance of the waste gas outlet to the opposite building must be at least 3m in the direction of
the waste gas discharge. (Figure 5b)
The distance between the flue outlets of C type appliances should be at least 2.5m upward. In
addition, the waste gas outlets of these appliances must be 30 cm below the lower edge of the
window. (Figure 5c)
“C” type devices below ground level (basement floors) can only be installed if the combustion air
and exhaust gas pipelines of each device are opening to their own ducts. The cross-sectional area of
the ducts should be at least 0.75m2 and the small side dimension of the duct should be at least
0.5m. There should be no air vents or windows opening to these ducts.
In C type appliances, the combustion air and waste gas pipe mouths must be at a horizontal
distance of at least 5m from the fuel pumps and fuel tanks.
Figure 5 b)
Figure 5 a) Figure 5 c)
9

Related product manuals