EasyManua.ls Logo

E.C.A. KRONOS KR 24 HM - Room Sealed Type Flue Connections

E.C.A. KRONOS KR 24 HM
36 pages
Print Icon
To Next Page IconTo Next Page
To Next Page IconTo Next Page
To Previous Page IconTo Previous Page
To Previous Page IconTo Previous Page
Loading...
Room Sealed Type Flue Connections
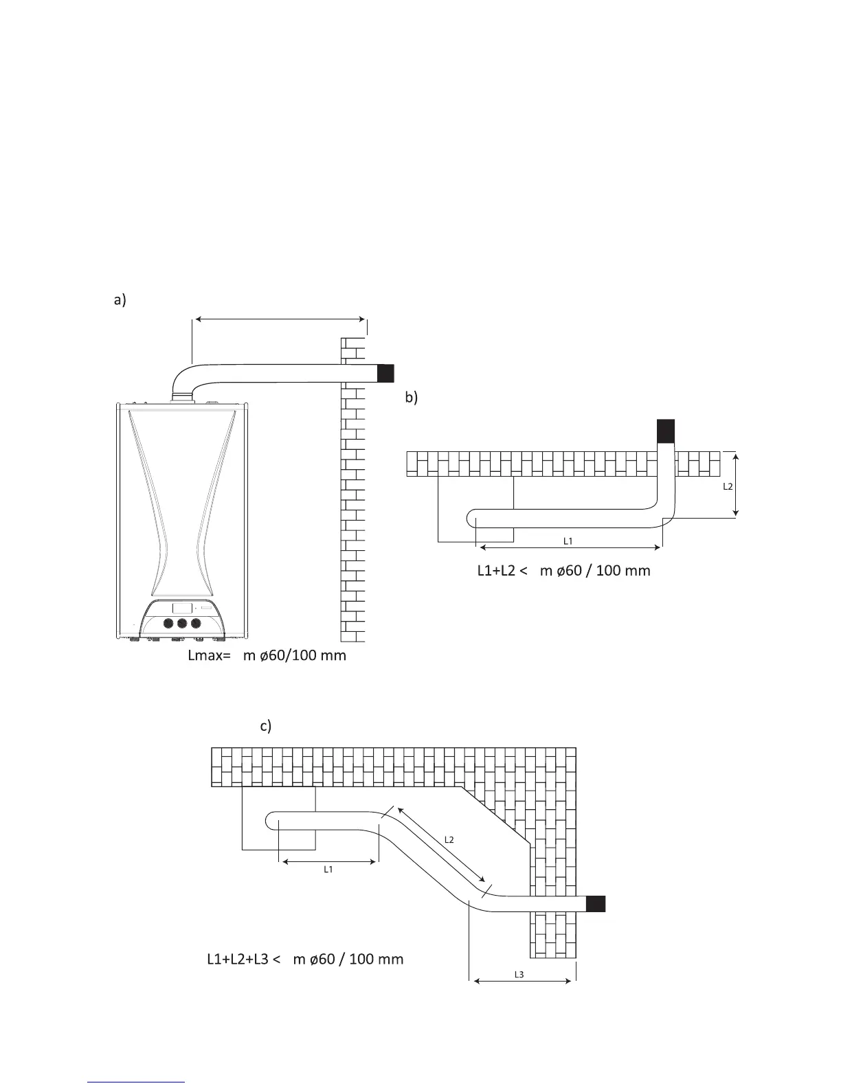
Our combi boilers have the following room sealed flue connection options:
1. Horizontal flue connection (Ø60 / 100 mm) max. Up to 3 meters
2. Vertical flue connection (Ø60 / 100 mm) max. Up to 4 meters
If an elbow is used in the flue connections, the lengths are always reduced by 1 m when using a 90°
elbow or two 45° elbows. Up to two 90° elbows can be used. (Figure 7)
2
3
2
11
Sample flue installation with single 90˚ elbow
Sample flue installation with two 90˚ elbows
Sample flue installation with single 90˚ elbow and 45˚ elbow
Figure 7

Related product manuals