EasyManua.ls Logo

Eaton EM4-201-DX2 - Page 4

Eaton EM4-201-DX2
9 pages
To Next Page IconTo Next Page
To Next Page IconTo Next Page
To Previous Page IconTo Previous Page
To Previous Page IconTo Previous Page
Loading...
4/9 Emergency On Call Service: Local representative (http://www.moeller.net/address) or +49 (0) 180 5 223822 (de, en)
12/99 AWA27-1452
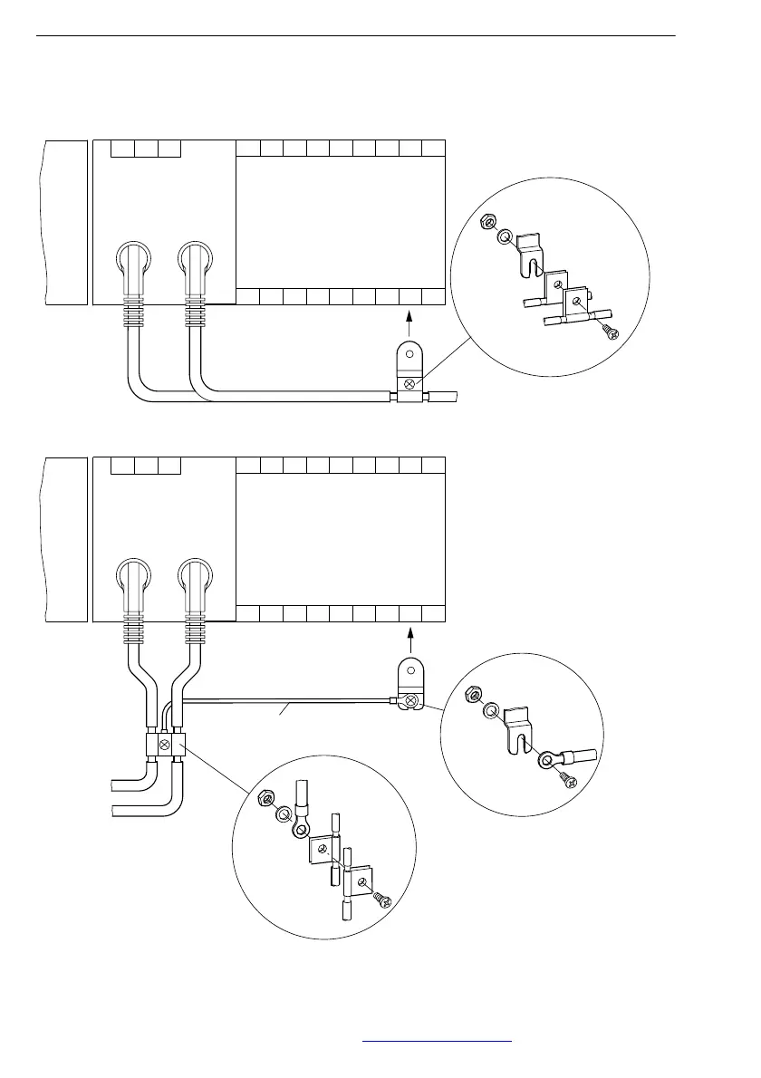
For exchanged units: Earthing the screen with a fixing bracket
Bei Geräteaustausch: Schirmerdung mit Gerätefuß
Lors du remplacement des appareils : Mise à la terre du blindage avec patte de montage
Al cambiar los aparatos: Conexión a la tierra de la pantalla con una placa de apoyo
In caso di sostituzione dell´ apparecchio: Collegamento alla terra dello schermo con base di fissaggio a vite
PS4/EM4
PS4-...
EM4-...
PS4/EM4
PS4-...
EM4-...
2.5 mm
2
(< 11 cm)

Related product manuals