EasyManua.ls Logo

EAW CXA240 - 5. OUTPUT CONNECTIONS; Low Impedance Speaker Connection; Constant Voltage Speaker Systems

EAW CXA240
12 pages
Print Icon
To Next Page IconTo Next Page
To Next Page IconTo Next Page
To Previous Page IconTo Previous Page
To Previous Page IconTo Previous Page
Loading...
6 – CXA240
CXA240 7
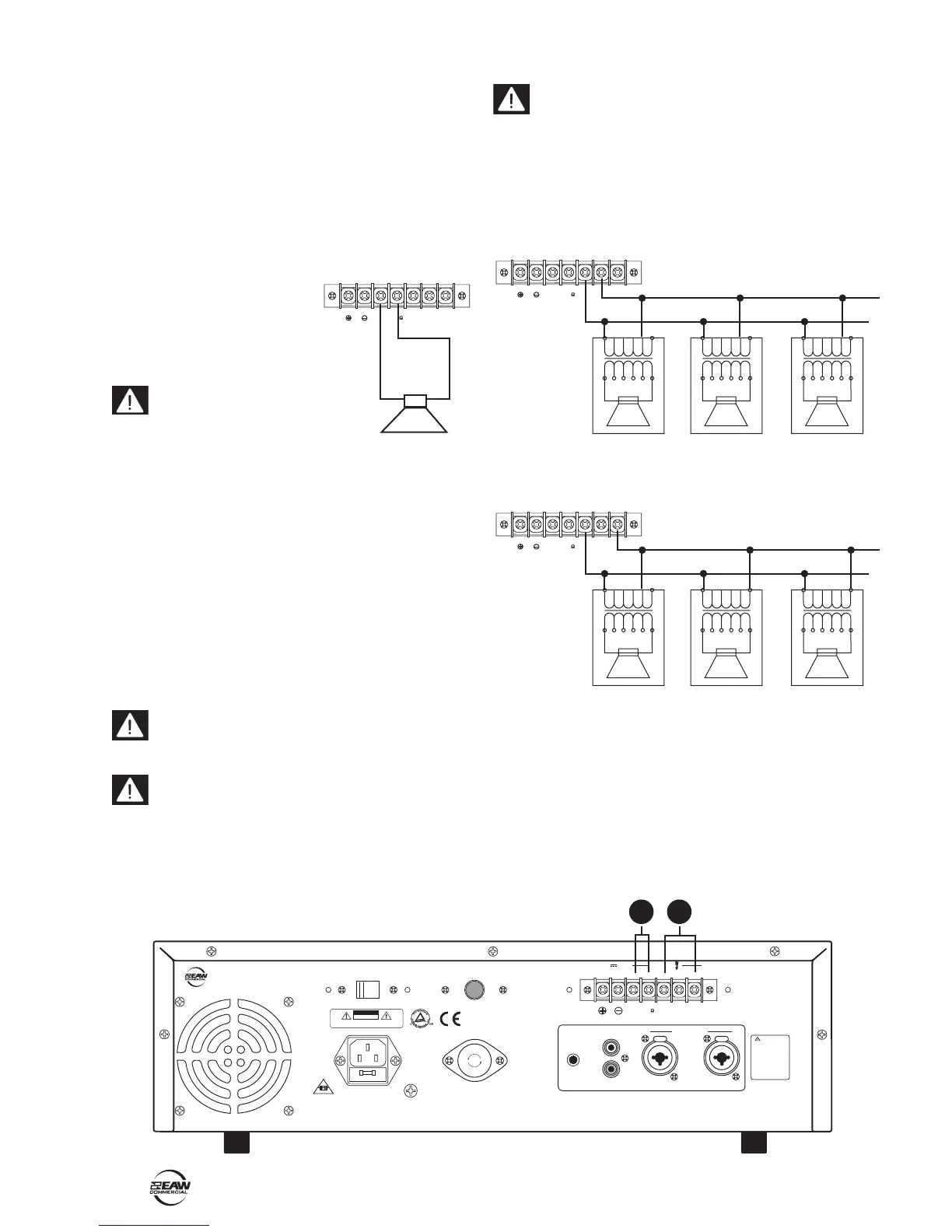
OUTPUT TERMINALS (12 and 13):
This terminal block is normally covered by a protective
cover. Remove the two screws and the cover while making
or undoing connections. Securely ret the cover when you
have nished making the connections.
The ve output terminals are labeled COM, 4 Ω, COM,
70 V, and 100 V.
12. LOW IMPEDANCE
To connect a speaker directly,
connect the COM terminal
to the negative post of your
speaker, and connect the 4 Ω
terminal to the positive post.
Make sure that your average
speaker impedance is not
less than 4 Ω, as this may
overload the amplier.
The speaker output connectors are screw terminals. Use
16 or 18 gauge wire for connecting the amplier outputs to
the speakers. Strip the wire back about 3/8" inch, loosen
the screw enough to loop the wire around the shaft of
the screw (clockwise), and tighten down the screw with a
screwdriver.
13. CONSTANT VOLTAGE
If you are using a constant-voltage distributed speaker
system, connect either the 70 V, or 100 V output terminal to
the "+" side of the speaker system, and connect the "COM"
output terminal to the "–" side of the speaker system.
Each speaker must be equipped with a line transformer
with an input voltage equal to that of the line (70 V or
100 V).
Make sure that the sum of the power capacities of the
speakers does not exceed 90% of the amplier's rated
output power (216 W).
CAUTION: To prevent the risk of electric shock,
never touch the bare wires coming from the OUTPUT
TERMINALS of the amplier when it is switched on.
When the connections have been made, insulate the
70 V and 100 V terminals of the amplier using the
protective cover supplied.
COM and 70 V are used to connect 70 V speakers.
Use Class I wiring:
COM and 100V are used to connect 100V speakers
Use Class I wiring:
POWER
OUTPUT
CXA240 - AMPLIFIER
PEAK
PROT
SIGNAL
DC FUSE
CAUTION : SHOCK HAZARD-DO NOT OPEN
RISK OF FIRE-REPLACE FUSE AS MARKED.
RISK OF ELECTRIC SHOCK
DO NOT OPE
N
GND
FUSE
OFFON
IV/10K BAL.
DC POWER
LINE
LEVEL
ADJUST
TO REDUCE THE RISK
OF FIRE OR ELECTRI
C
SHOCK, DO NOT EXPOSE
THIS AP PARATUS TO
RAIN OR MOISTURE.
RISK OF HAZARDOUS
ENERGY! MAKE PROPER
SPEAKER CONNECTION.
SEE INSTRUCTIONS
BEFORE USING!
WARNING
INPUT
6.3AL 250V
MANUFACTURED IN CHINA © 2004 LOUD TECHNOLOGIES INC.
"EAW" IS A REGISTERED TRADEMARK OF LOUD TECHNOLOGIES INC.
COM COM 70V 100V
4
OUTPUT
DC 24V
CAUTION
CXA240 - AMPLIFIER
115VAC/230VAC~ 60Hz/50Hz
115VAC/230VAC~ 60Hz/50Hz
115
F
U
S
E
F
U
S
E
F
U
S
E
PUSH PUSH
- +
COM COM 70V 100V
4
0
0
0
70V 70V
70V
COM COM 70V 100V
4
0
0
0
100V 100V
100V
COM COM 70V 100V
4
12
13

Other manuals for EAW CXA240

Related product manuals