EasyManua.ls Logo

Ecolab Chameleon PLUS BW3 - Layout Wall Booster BW4 - BW7

Ecolab Chameleon PLUS BW3
26 pages
Print Icon
To Next Page IconTo Next Page
To Next Page IconTo Next Page
To Previous Page IconTo Previous Page
To Previous Page IconTo Previous Page
Loading...
6
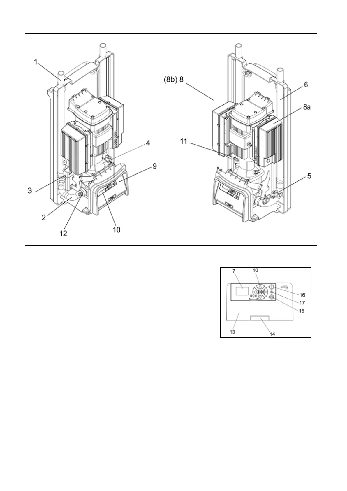
Fig. 5
110001497
Fig. 6 110001498
1.3 Advanced Booster BW4 - BW7
(Fig. 5).
1. Water inlet
2. Manifold inlet
3. Trigger sensor, ow sensor
4. Pump
5. Manifold outlet
6. Outlet pipe
7. Display
8. El- box ( BW4)
8a. Inverter box
8b. Filter box (only used on BW7)
9. Operations panel
10. Navigation buttoms
11. Pressur sensor (Outlet)
12. Pressur sensor (Inlet)
13. Label
14. Name Label
15. O Pushbutton.Stop
16. I Pushbutton.Start
17. Δ Lamp. Alight by error

Other manuals for Ecolab Chameleon PLUS BW3

Related product manuals