EasyManua.ls Logo

Edwards EH250FX - EH250;EH250 FX Dimensions (MM)

Edwards EH250FX
40 pages
Print Icon
To Next Page IconTo Next Page
To Next Page IconTo Next Page
To Previous Page IconTo Previous Page
To Previous Page IconTo Previous Page
Loading...
A301-05-880 Issue A
Page 10 © Edwards Limited 2014. All rights reserved.
Edwards and the Edwards logo are trademarks of Edwards Limited.
Technical Data
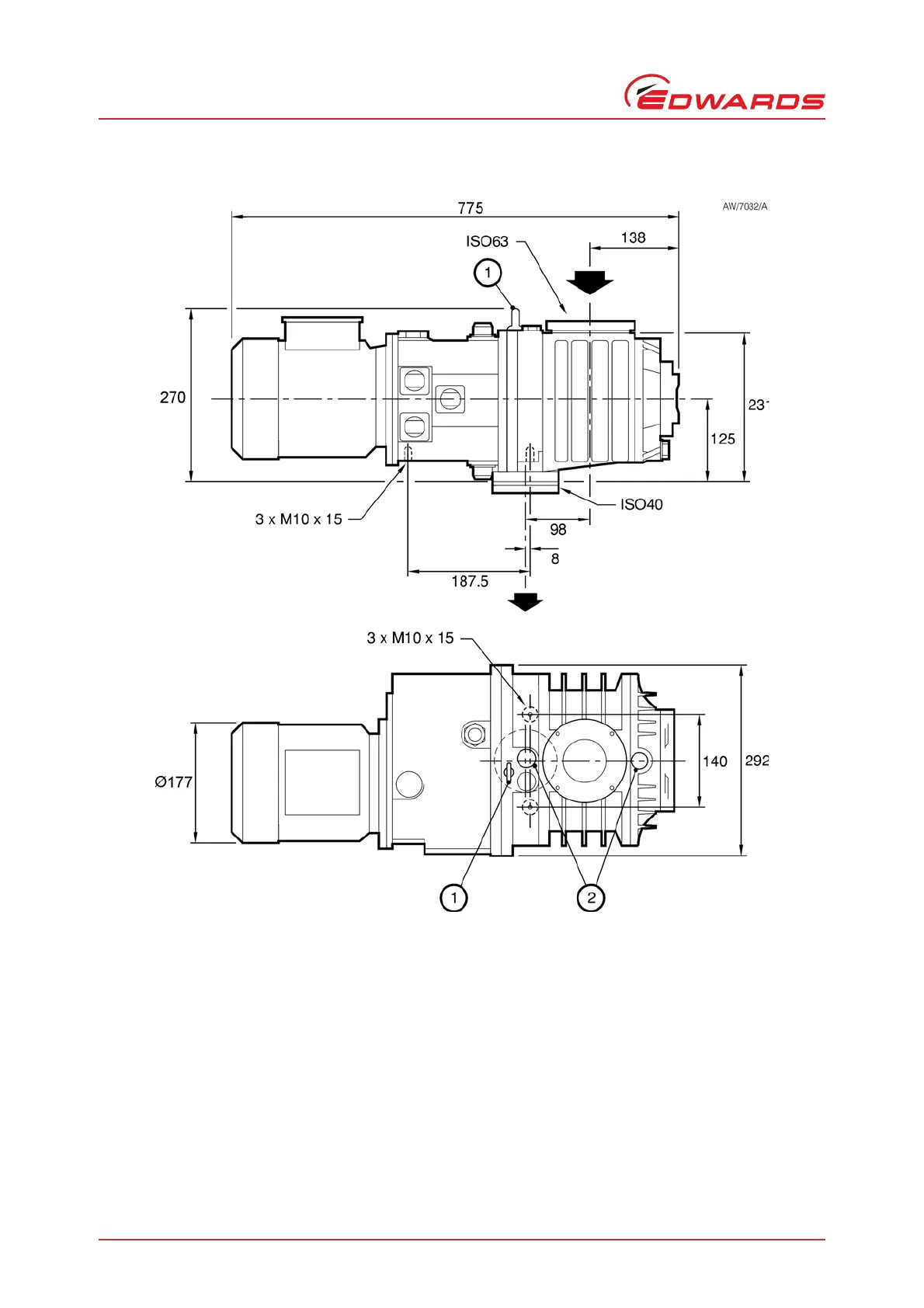
Figure 3 - EH250/EH250FX dimensions (mm)
1. Lifting bolt
2. External evacuation port
Note: Allow 25 mm around the pump exterior for variation in component dimensions and air
cooling.

Table of Contents

Related product manuals