EasyManua.ls Logo

Elan Impression 444 - GARBAGE DISCHARGE

Elan Impression 444
80 pages
Print Icon
To Next Page IconTo Next Page
To Next Page IconTo Next Page
To Previous Page IconTo Previous Page
To Previous Page IconTo Previous Page
Loading...
Impression 444 Owner's manual
38
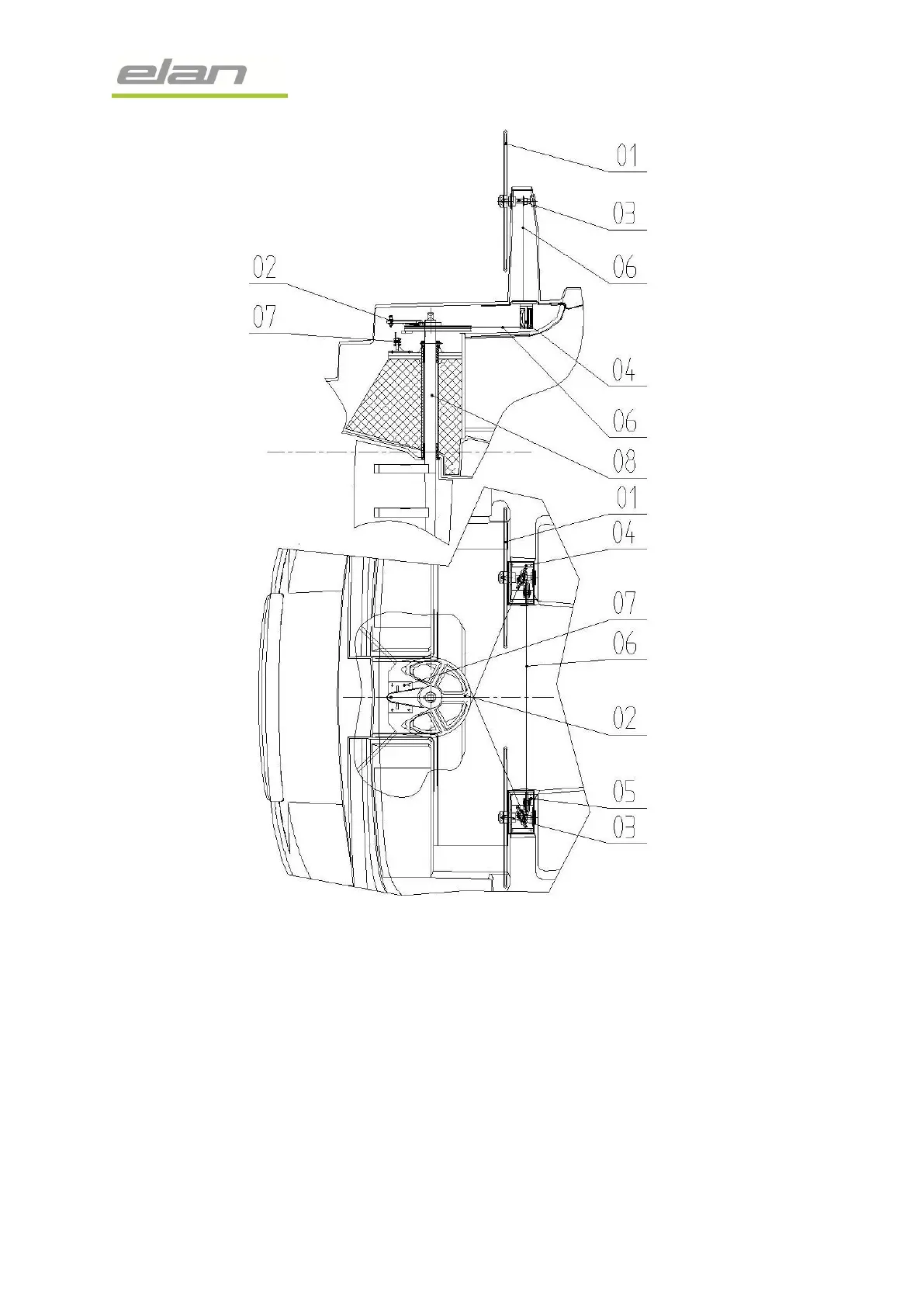
Figure 17
1. Steering wheel
2. Quadrant
3. Steering drum
4. Custom idler
5. Custom idler
6. Chain & wire set
7. Stopper
8. Rudder
8. GARBAGE DISCHARGE
Annex V of the MARPOL Treaty is an International Convention providing for a cleaner, safer
marine environment.

Table of Contents

Related product manuals