EasyManua.ls Logo

elddis XPLORE - Page 40

elddis XPLORE
134 pages
Print Icon
To Next Page IconTo Next Page
To Next Page IconTo Next Page
To Previous Page IconTo Previous Page
To Previous Page IconTo Previous Page
Loading...
8-7
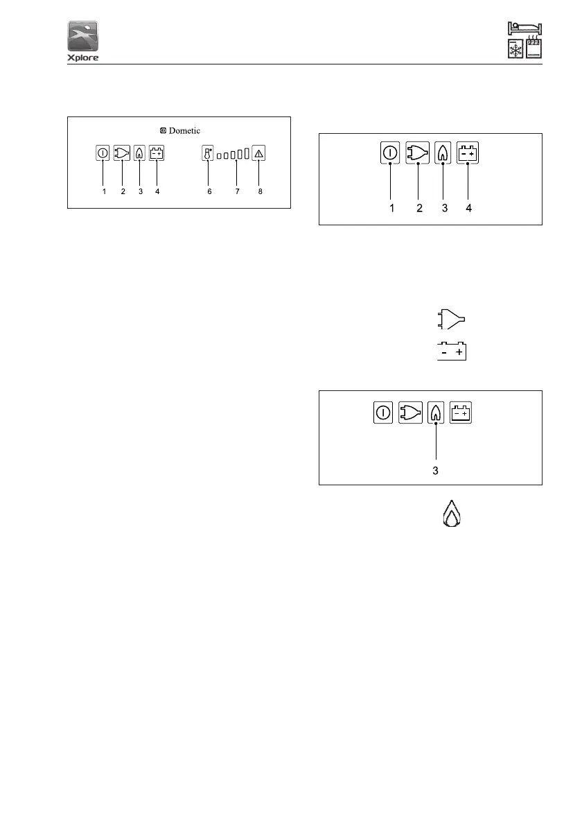
HOW TO USE YOUR CARAVAN’S EQUIPMENT
Manual energy selection/automatic
ignition on MES:
1 = Power ON/OFF switch
2 = Energy selector button 230V ~
3 = Energy selector button GAS
4 = Energy selector button 12V =
6 = Temperature level selection
7 = Temperature level display
8 = Indicator LED failure / Reset button GAS
FAILURE
Switching ON/OFF
Switch ON by pressing button (1), 2s
Switch OFF by pressing button (1), > 2s
230V AC operation
Select “Mains voltage” by pressing button
(2)
Set temperature step by pressing button
(6)
12V DC operation (vehicle’s battery)
Select “Battery voltage” by pressing
button (4)
Set temperature step by pressing button
(6)
Gas operation
Select “Gas” by pressing button (3)
Set temperature step by pressing button
(6)
MES appliances
(manual energy selection)
Electrical operation
To start the refrigerator, press button (1) for 2
seconds.
The refrigerator starts with the last selected
type of energy.
230V operaton:
Press button (2):
12V operation:
Press button (4):
Gas operation
Gas operation:
Press button (3):
The ignition process is activated
automatically by means of an automatic
igniter.
The flame extinguishes after reaching the
pre-set cooling compartment temperature
and ignites again if the cooling compartment
temperature increases again. If the flame is
not lit after the first ignition attempt, the
automatic igniter repeats the ignition twice
(duration 30s) at time intervals of 2 minutes.
If the flame is not lit afterwards, a fault is
indicated.
Fig 1
Fig 2
Fig 3

Table of Contents

Related product manuals