EasyManua.ls Logo

Electro-Harmonix OCEANS 12 - SEND;RETURN FX LOOP

Electro-Harmonix OCEANS 12
40 pages
Print Icon
To Next Page IconTo Next Page
To Next Page IconTo Next Page
To Previous Page IconTo Previous Page
To Previous Page IconTo Previous Page
Loading...
15
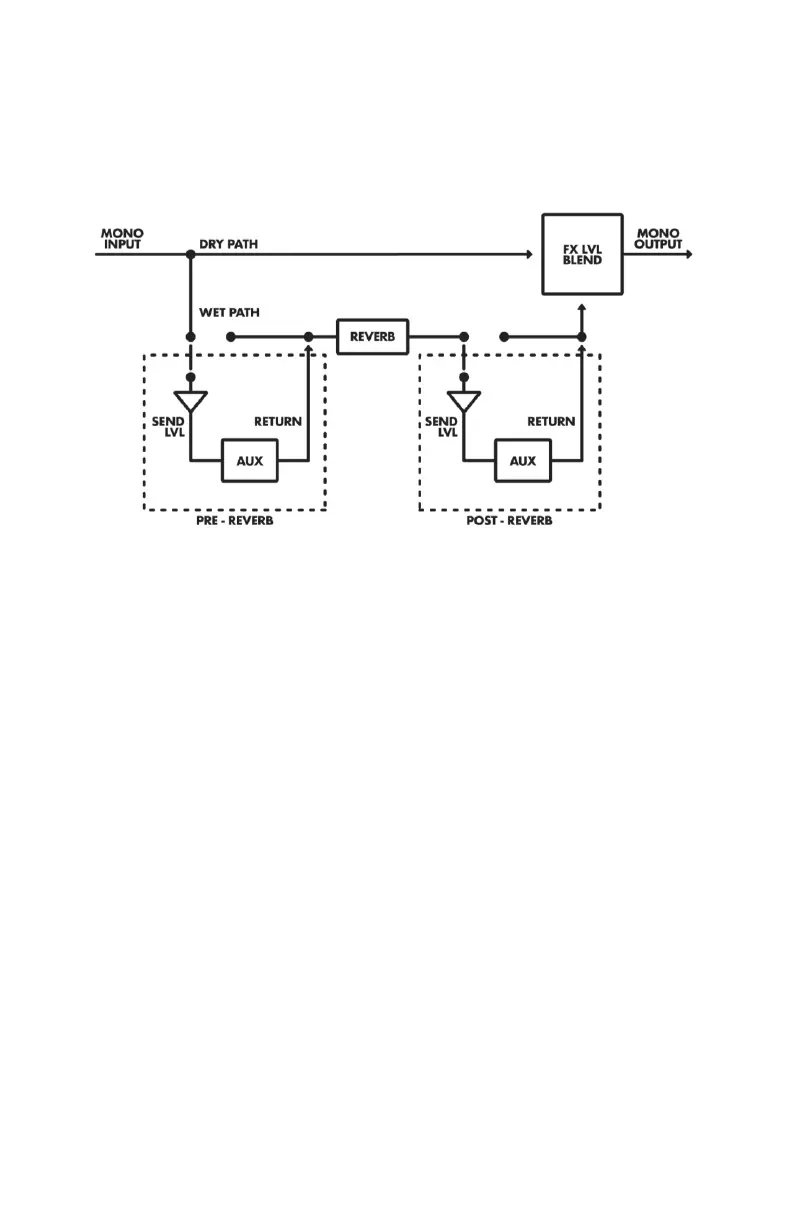
- SEND/RETURN FX LOOP -
The Oceans 12 has the ability to create a special, wet, mono FX LOOP
either before or after the reverb block. See the following diagram:
The SEND is output through the R/SEND OUT jack. The return is
connected to the R/RETURN IN jack.
Tip: useful for when you’d like an
effect in your chain, for example a fuzz or filter, to affect only the reverb
tails, i.e. without affecting your dry signal.
The amount of signal routed to the SEND path is controlled by the SEND
LVL, the alternate parameter of the PREDELAY knob. This knob controls
the SEND LVL whenever FUNCTION is on. (See page 13 for details on
the FUNCTION button). When the knob is turned fully counter-
clockwise, the SEND LVL is zero. The SEND LVL increases as the knob is
turned clockwise, reaching unity when fully clockwise.
Note: the default
value of the SEND LVL is zero. When a SEND/RETURN configuration is
active, be sure to adjust the SEND LVL to your desired amount.
The status of the Send/Return FX loop is always either
pre-reverb,
post-
reverb,
or
OFF
(i.e., regular stereo operation)
.
If the status is either
pre-
reverb
or
post-reverb
, the green S/R LED on the bottom-left of the unit
(pictured below) will be lit after the pedal is powered up. The Oceans
12 will remember the FX loop status, even after removing power.

Related product manuals