EasyManua.ls Logo

Electrolux EOB 949 - The Fan Oven; Uses of the Fan Oven; Selecting the Fan Oven; Things to Note

Electrolux EOB 949
42 pages
Print Icon
To Next Page IconTo Next Page
To Next Page IconTo Next Page
To Previous Page IconTo Previous Page
To Previous Page IconTo Previous Page
Loading...
25
USES OF THE FAN OVEN
The oven is heated by an element around the fan situated behind the back panel. The fan draws air from the oven
and the element heats the air which is circulated into the oven via the vents in the back panel. The advantages of
fan oven cooking are:
PREHEATING
The fan oven quickly reaches its temperature so it is not usually necessary to preheat the oven. Without
preheating however you may need to add an extra 5 – 10 minutes on the recommended cooking times. For
recipes needing high temperatures e.g. bread, pastries, scones, soufflés etc., best results are achieved if the oven
is preheated first. For best results when cooking frozen or cooked chilled ready meals always preheat the oven
first.
COOKING TEMPERATURES
Fan oven cooking generally requires lower temperatures than conventional cooking. Follow the temperatures
recommended in the chart on page 22. As a guide reduce temperatures by 20°C - 25°C for your own recipes,
using a conventional oven.
BATCH BAKING
The fan oven cooks evenly on all shelf levels, especially useful when batch baking.
SELECTING THE FAN OVEN
1) Turn the Function Selector to Fan Oven.
2) Turn the Temperature Control to the required
setting.
THINGS TO NOTE
· The oven neon will glow until the oven has
reached the desired temperature and then go
out. It will turn ON and OFF periodically during
cooking showing that the oven temperature is
being maintained.
· The oven fan will operate continually during
cooking.
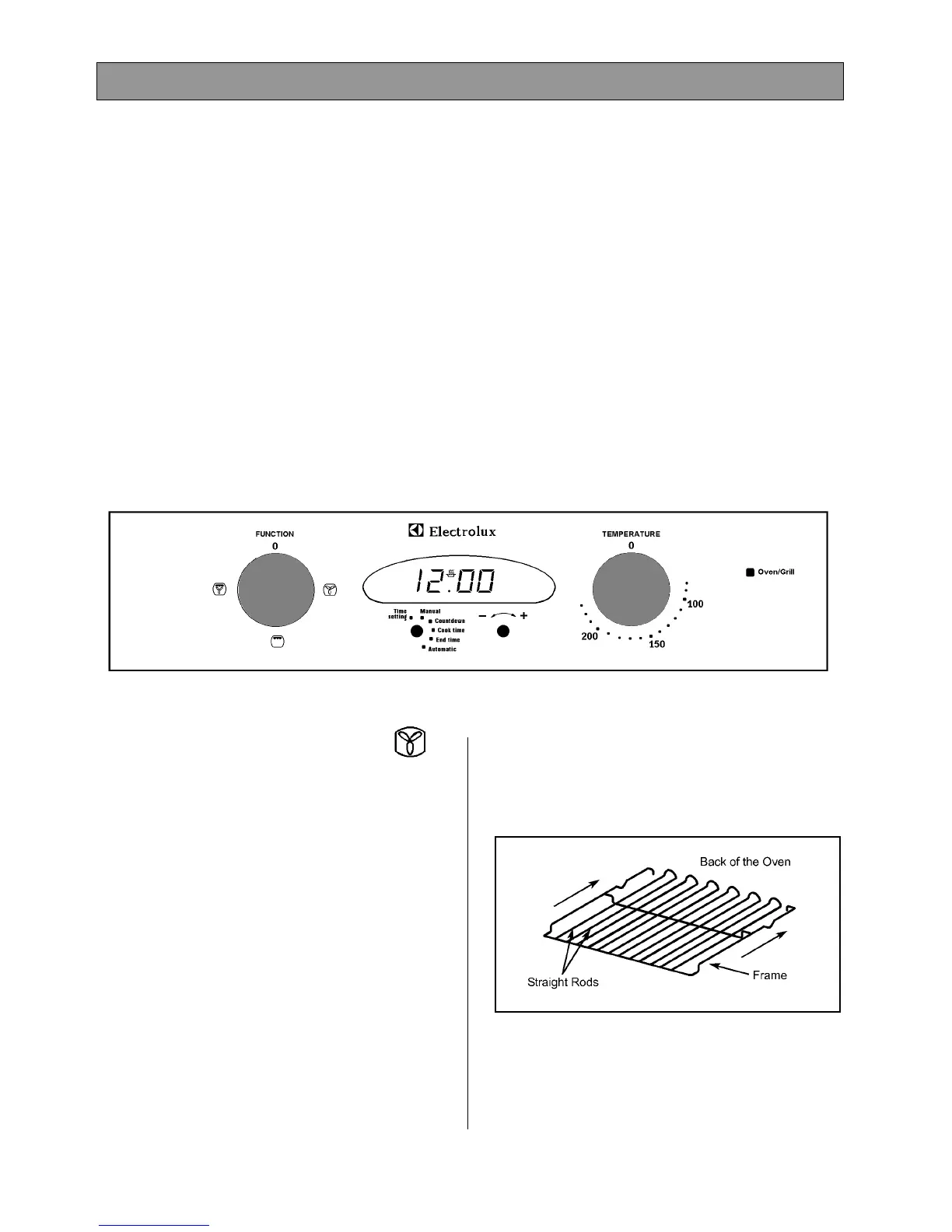
TO FIT THE OVEN SHELVES
The shelves should be fitted with the straight rods
uppermost on the frame and the forms towards the
back of the oven. If not fitted correctly the anti-tilt
and safety stop mechanism will be affected.
THE FAN OVEN

Table of Contents

Related product manuals