EasyManua.ls Logo

Electrolux EOB5627 - Uses, Tables and Tips; Baking

Electrolux EOB5627
44 pages
Print Icon
To Next Page IconTo Next Page
To Next Page IconTo Next Page
To Previous Page IconTo Previous Page
To Previous Page IconTo Previous Page
Loading...
19
Uses, Tables and Tips
Baking
Oven function: Hot air or Conventional
Baking tins
For Conventional dark metal and non-stick tins are suitable.
For Hot air bright metal tins are also suitable.
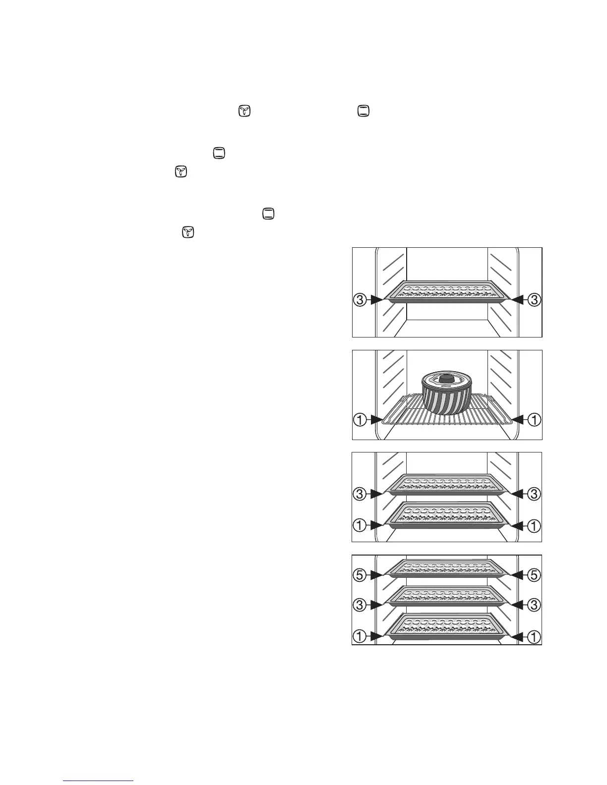
Oven levels
Baking with Conventional is possible on one oven level.
With Hot air you can bake on up to 3 baking trays at the same time:
1 baking tray:
e.g. oven level 3
1 cake tin:
e.g. oven level 1
2 baking trays:
z. g., oven levels 1 and 3
3 baking trays:
oven levels 1, 3 and 5

Related product manuals