EasyManua.ls Logo

Electrolux EWF 1580 - Control Panel; Program Selector

Electrolux EWF 1580
44 pages
Print Icon
To Next Page IconTo Next Page
To Next Page IconTo Next Page
To Previous Page IconTo Previous Page
To Previous Page IconTo Previous Page
Loading...
8
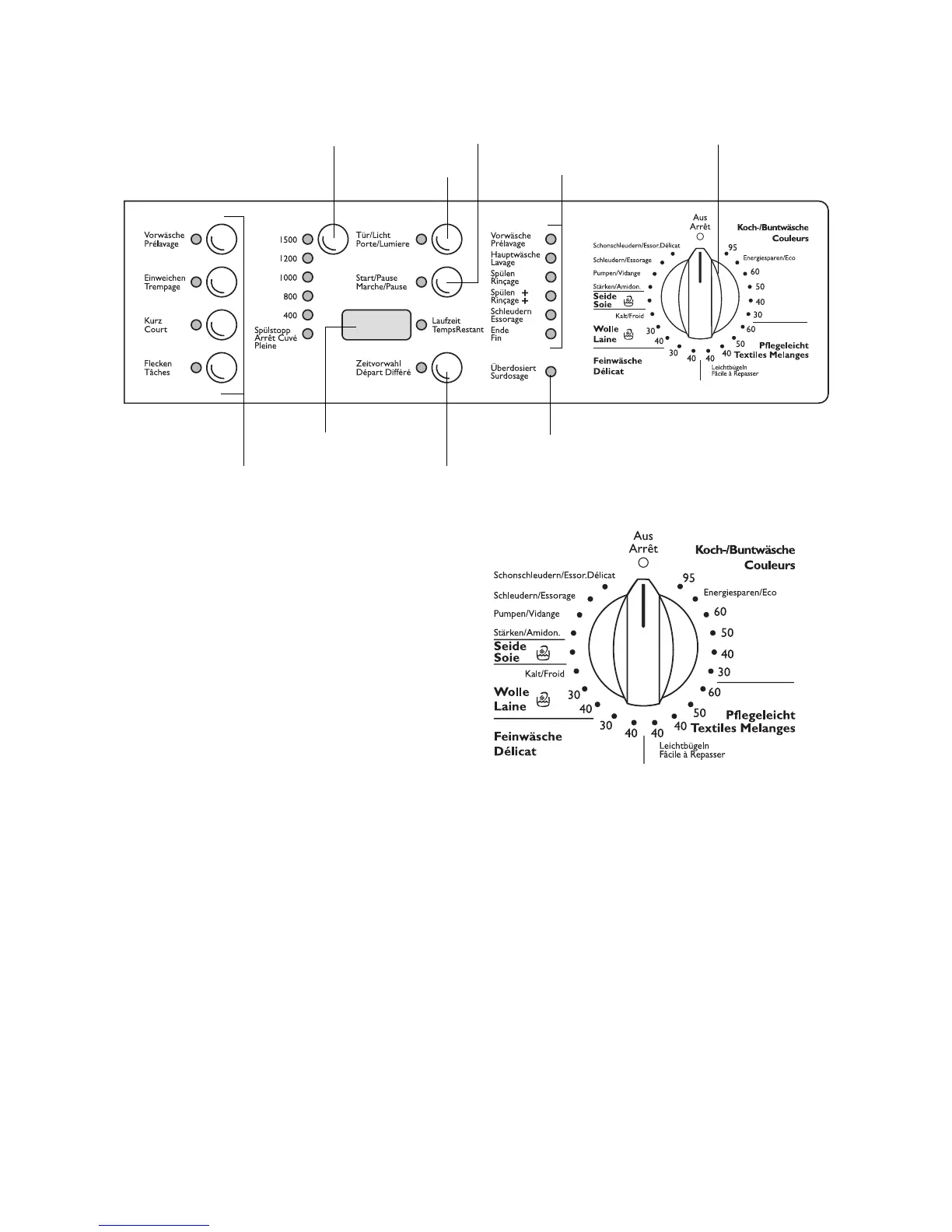
Control Panel
Program Selector
The program selector determines the type of wash-
ing cycle (e.g. water level, drum movement, number
of rinses, spin speed) according to the type of gar-
ments being washed, and also the washing solution.
OFF (Aus, Arrêt)
Switches off the washing machine. All other posi-
tions are "switched on".
COTTONS/LINEN
(Koch-/Buntwäsche, Couleurs)
Main washing cycle Cottons/Linen at 30 °C to 95 °C.
2
ENERGY SAVING position (Energiesparen/
Eco): Energy-saving program at approx.
67 °C for lightly to normally dirty cottons,
extended washing time. Cannot be com-
bined with QUICK WASH (Kurz, Court) and
STAIN (Flecken, Tâches).
EASY-CARES
(Pflegeleicht, Textiles Melanges)
Main washing cycle for easy-care textiles (mixed fab-
rics) at 40 °C to 60 °C.
EASY IRON position (Leichtbügeln, Fâcile à
Repasser): Main washing cycle at 40 °C for easy-
care textiles which, with the aid of this program, only
have to be either gently ironed or not ironed at all.
DELICATES (Feinwäsche, Délicat)
Main washing cycle for delicates at 30 °C or 40 °C.
Program sequence display
Program selector
Spin speed/RINSE HOLD button
OVER DOSING display
START/PAUSE button
Multidisplay
DELAY TIMER buttonAdditional program buttons
DOOR/LIGHT button

Table of Contents

Related product manuals