EasyManua.ls Logo

Electrolux REFRIGERATION - Page 12

Electrolux REFRIGERATION
31 pages
Print Icon
To Next Page IconTo Next Page
To Next Page IconTo Next Page
To Previous Page IconTo Previous Page
To Previous Page IconTo Previous Page
Loading...
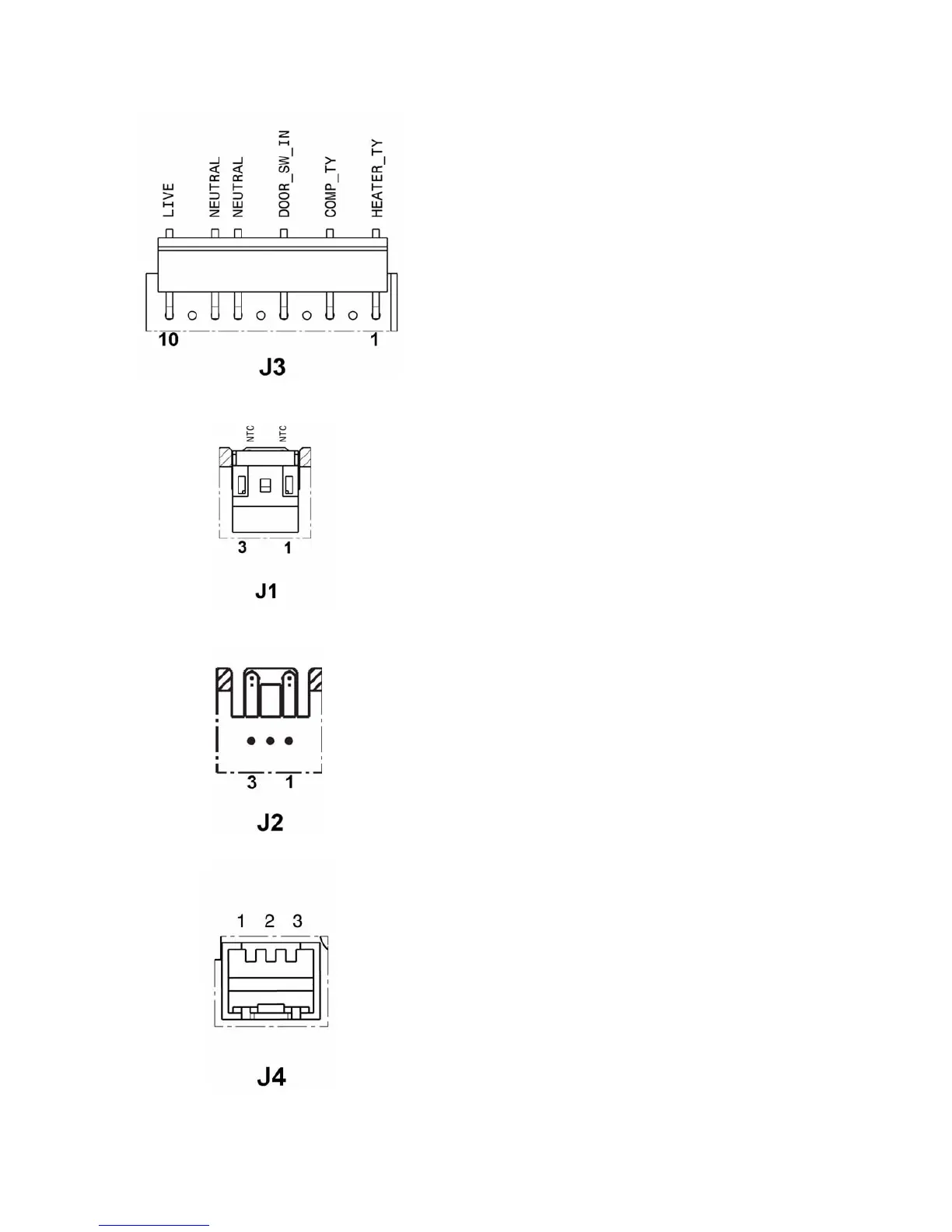
- ITZAA 12/31 599 38 97-89
1. defrosting heater line
2. free
3. compressor and cold module fan line
4. free
5. cooler door switch signal
6. free
7. air box fan neutral and lamp
8. neutral
9. free
10.line
1. cooler air temperature sensor
2. free
3. cooler air temperature sensor
1. free
2. free
3. free
1. free
2. free
3. free

Related product manuals