EasyManua.ls Logo

Electrolux REFRIGERATION - Power and Display Board ERF550

Electrolux REFRIGERATION
31 pages
Print Icon
To Next Page IconTo Next Page
To Next Page IconTo Next Page
To Previous Page IconTo Previous Page
To Previous Page IconTo Previous Page
Loading...
- ITZAA 11/31 599 38 97-89
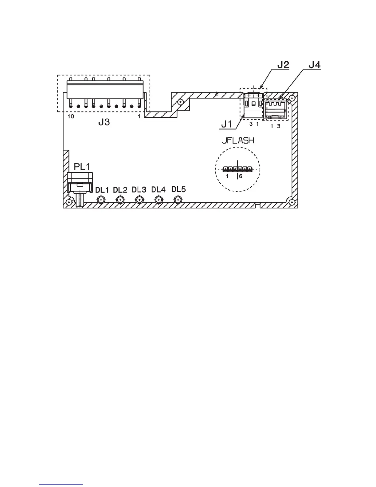
5.2.1 Power and display board ERF550
- View of the electronic board (side of components):
Key:
PL1 = temperature selection button
DL1 = temperature LED (+2 °C)
DL2 = temperature LED (+4 °C)
DL3 = temperature LED (+5 °C)
DL4 = temperature LED (+6 °C)
DL5 = temperature LED (+8 °C)

Related product manuals