EasyManua.ls Logo

Electrolux Wascator W100 - Page 54

Electrolux Wascator W100
134 pages
Print Icon
To Next Page IconTo Next Page
To Next Page IconTo Next Page
To Previous Page IconTo Previous Page
To Previous Page IconTo Previous Page
Loading...
Service
Manual 12. Function Sequences
12
10 9003
Type
Edition
Page
p<
B
14
10
S5
S5
B1
6
2
4
S5
S5
Y11
Y12
Y13
K51
C
A:17
a
a
3
7
8
4
3
a
5
a
54
1
6
6
1
11
12
14
21
22
24
4
5
3
2
32
4
5
14
6
b
a
b
a
7
8
X83:10
X183:1
6
a
7
a
X75:5
X75:3
X75:1
6
4
2
A:2
A:3
X75
X78
X178
X178
X78
C
X183
X83
A
E
2
3
C
9
A
B
A
3
5
6
7
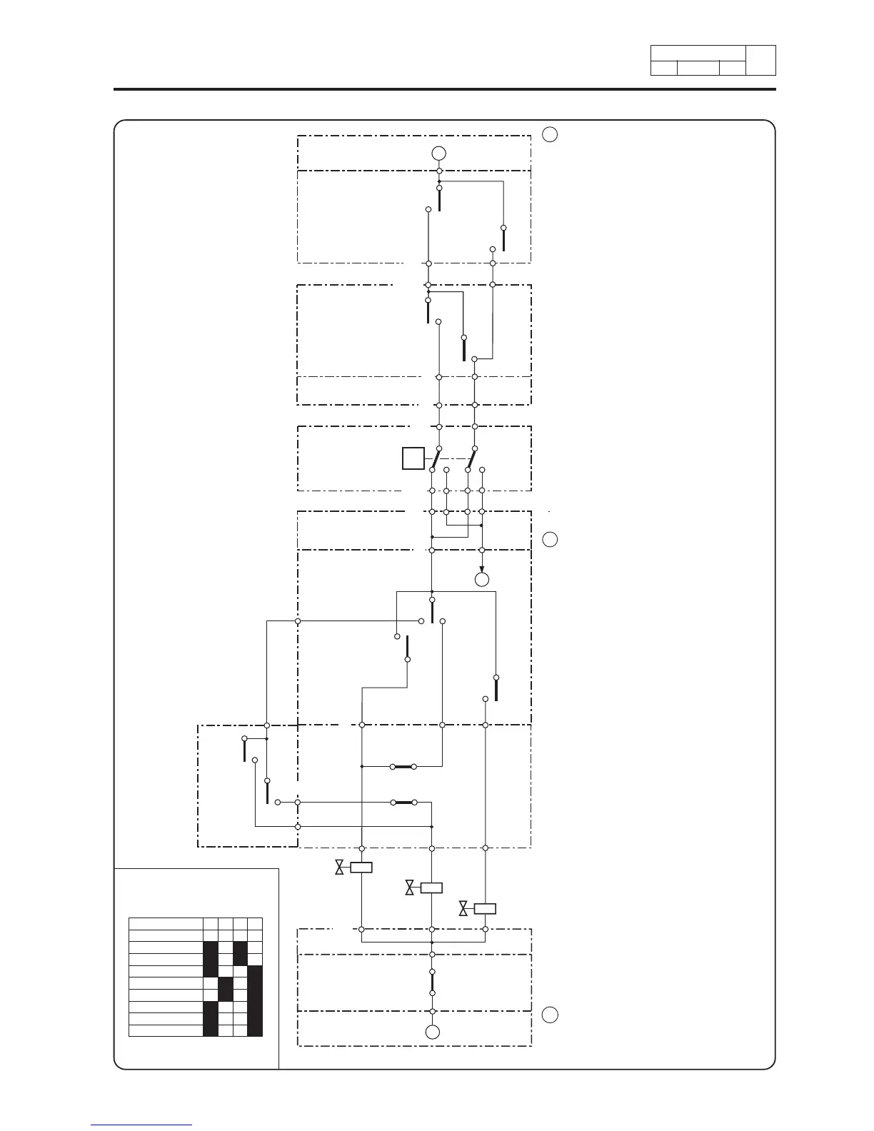
Row no.
0
Normal 95°
Normal 60°
Normal 40°
Mild 30°
Wool 40°
Perm. press 40°
Perm. press 60°
Perm. press 95°
Program selector
1440
1439
B = Power supply, see function
diagram ''Safety lock and power
supply''.
(1) Timer, row 14a
Level 1 or 2
(2) Timer, row 10a
Level 2
(3) Program selector
row 3
(4) Program selector
row 5
(5) Level control
E = supply to heating mechanism and
timer motor, see fuction diagram
''Heating'' and ''Timer motor''.
(6) Timer, row 2
a: Valve, TMPF 2 b: Valve, hard water
(7) Timer, row 6b
Valve TMPF 1
(8) Timer, row 4a
Valve, TMPF 3
(9) Program selector row 6
(10) Program selector
row 7
(11) Water valve, compartment 1, cold
water
(12) Water valve, compartment 2, cold
water
(13) Water valve, compartment 3, cold
water
(14) Relay, timer rapid advance
C = Power supply, see function
diagram ''Safety lock and power
supply''.
Program
selector
Parent
card
Parent card
Timer
Parent card
Timer
Parent card
Level control
Parent card
Program
selector
Timer
Parent card
11

Table of Contents

Related product manuals