EasyManua.ls Logo

Electrolux Wascator W100 - Page 56

Electrolux Wascator W100
134 pages
Print Icon
To Next Page IconTo Next Page
To Next Page IconTo Next Page
To Previous Page IconTo Previous Page
To Previous Page IconTo Previous Page
Loading...
Service
Manual 12. Function Sequences
12
10 9003
Type
Edition
Page
5
S5
S5
S5
S5
B11
38
K51
1
K21
Y51
F2
K51
C
D
b
X83:6
X183:5
9
a
10
a
11
a
12
a
10
8
9
11
34
2
5
3
4
2
5
11
21
31
41
30°
40°
60°
90°
12
14
22
24
32
34
42 44
X172:1
X72:6
A:12
b
X85:6
A1
A2
X3:9
X3:7
X85:1
A:3
C
X72
X172
X172:6X72:1
A:1
E
B
A:17
b
A:13
B:2
10
1436
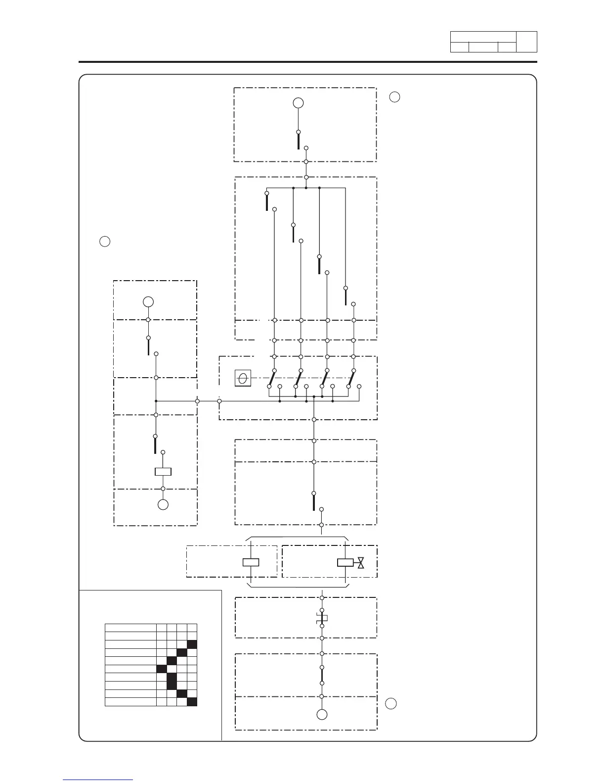
Program selector
Row no.
0
Normal 95°
Normal 60°
Normal 40°
Mild 30°
Wool 40°
Perm. press 40°
Perm. press 60°
Perm. press 95°
9
10
11
12
1437
Timer
E = Power supply from level
sensor, see function diagram ''Water
filling''.
(1) Programmer, row 5b
Temp., main wash
(2) Program selector
row 9
(3) Program selector
row 10
(4) Program selector
row 11
(5) Program selector
row 12
(6) Timer row 10b
Level 2
(7) Thermostat
(8) Timer row 38
(9) K51 Coil for timer
rapid advance
(10) Timer, row 1b
Element
(11) For electric heating: Contactor
For steam heating: Steam valve
(12) Overheat protection
(13) Relay, timer rapid advance
C = Power supply, see function
diagram ''Safety lock and po
supply''.
Programselector
Parent
card
Thermostat
Parent card
Programmer
For electric
heating
For steam
heating
Overheat
protection
Timer
Parent card
B = Power supply point, see
function diagram ''Safety lock and
power supply''.
Timer
Parent
card
Timer
Parent card
Parent card
13

Table of Contents

Related product manuals