EasyManua.ls Logo

Electrolux Wascator W100 - Page 70

Electrolux Wascator W100
134 pages
Print Icon
To Next Page IconTo Next Page
To Next Page IconTo Next Page
To Previous Page IconTo Previous Page
To Previous Page IconTo Previous Page
Loading...
Service
Manual 12. Function Sequences
12
Type
Page
Edition
S3
2
1
9
8
X170
X70
F1
S1
S2
C
D
S1
X1
X1
1
X73:2
X173:7
X80:1
X173:8
X73:1
X73:8
X74:2
3
4
2
3
X73:3
X173:6
X173:5
X73:4
X80:2
2
X174
X174
X70
S6
A
B
34
33
K51
S4
1
1
3
X173:1
4
2
57
6
7
A:1
4
6
7
X74
X173
X73
B
X70
X170
X170
E
X74:4
1543
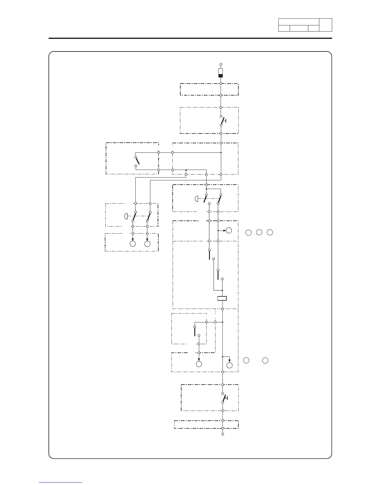
(1) Fuse
(2) Switch On - Off
(3) Switch Door
(4) Switch Start + K51
(5) Power Switch S2 Emergency
Stop
A B E : power supply to
other functions
(6) Timer row 34
Rapid advance Start
(7) Timer row 33
Rapid advance Start
(8) Coil for timer
advance
(9) Switch Doorlock
C and D = power supply to other
functions
(10) Switch On - Off
Parent card
Power Switch
card
Parent card
Safety lock
Power Switch
card
Timer
Safety lock
Parent
card
Power Switch
card
Parent card
Parent card
Parent
card
3
12 9005

Table of Contents

Related product manuals