EasyManua.ls Logo

Emos EMP911 - Page 15

Emos EMP911
20 pages
Print Icon
To Next Page IconTo Next Page
To Next Page IconTo Next Page
To Previous Page IconTo Previous Page
To Previous Page IconTo Previous Page
Loading...
15
ДИФЕРЕНЦИЈА ТЕМПЕРАТУРЕ КОД УКЉУЧЕЊА И
ИСКЉУЧЕЊА
Диференција је разлика између температуре укључења и
искључења. Може се бирати вредност 0,2 °Ц до 1,6 °Ц.
1. Притисните тастер S и стрелицом горе/доле подесите вредност
диференције.
2. Потврдите притиском на тастер .
Пример: Ако на пример подесите температуру на 22 °Ц и диференцију =
0,5 °Ц, грејање се укључи при паду температуре испод 21,5 °Ц те се искључи
када је температура изнад 22,5 °Ц.
РЕЖИМ ГРЕЈАЊА ИЛИ ХЛАЂЕЊА – ПРЕКИДАЧ
DIP
Испод стражњег покрова налази се прекидач DIP. Управља
преклапање система грејања и хлађења. Пошто је комфорна
температура за системе грејања стандардно већа од штедљиве,
док је ово код система хлађења обратно, неопходно је помоћу
овог прекидача изабрати да ли ће термостат управљати систем
грејања или хлађења.
Промену режима вршите само без електричног прикључка и без
уметнутих батерија!
Активисани режим грејања – HEAT -
Активисани режим хлађења – COOL -
УПРАВЉАЊЕ СИСТЕМА ХЛАЂЕЊА
Подешењем прекидача DIP термостат се може користити и за
управљање система хлађења.
Функција је слична као код система грејања, међутим између њих
постоји неколико разлика:
1. Општенито је комфорна температура система хлађења нижа од
штедљиве.
2. Укључење и искључење је обратно: температура се укључује
када температура у просторији премаши подешену температуру.
Овај апарат није намењен за коришћење од стране лица
(укључујући децу) којима физичка, чулна
или ментална неспособност или недостатак искуства и знања омета
сигурно коришћење апарата, уколико иста лица нису под надзором
или ако нису поучени у вези употребе овог апарата од стране лица
одговорног за њихову безбедност. Неопходан је надзор деце тако
да се не могу са апаратом играти.
Након истека века трајања производ ни батерије не бацати
међу нормално комунално смеће, користите места за
прикупљање класификованог отпада.
На своју искључиву одговорност такође изјављујемо, да је означени
уређај EMP911 на основу своје концепције и конструкције, исто тако
изведба коју смо пустили у рад у складу са осталим припадајућим
одредбама уредбе владе. У случају промена на уређају за које нисмо
дали сагласност, ова изјава престаје важити.
THERMOSTAT EMP911
Der Thermostat EMP911 ist ein Temperaturregler, welcher zur Überwachung und Regulierung von Heiz- und Kühlsystemen dient.
Bevor Sie den Thermostat zum erstemal in Betrieb nehmen, lesen Sie bitte aufmerksam diese Anleitung durch.
• Großes multifunktionales LCD Display
• Regelungsmöglichkeit als Heiz- und Kühlsystem
• Programm deniert durch Benutzer
2 Programme Temperatureinstellung
• Manuelle Bedienung
Einstellbarer Temperaturbereich der Ein- und Ausschaltung (Hyste-
rese)
Technische Parameter
Temperaturmessbereich: 0 – 40 °C (Auösung 0,1 °C)
Temperaturregelungsbereich: 5 – 30 °C (0,5 °C Schritte)
Temperaturgenauigkeit: ± 1 °C
Uhrgenauigkeit: ±90 Sekunden pro Monat
Benutzerprogramme: manuell eingestellt
Temperaturbereich der Ein- und Ausschaltung: 0,2°C bis 1,6 °C (Hys-
terese 0,1 °C)
Betriebstemperatur: 5 – 40 °C
Lagerungstemperatur: 0 – 50 °C
Betriebsluftfeuchtigkeit: 0 – 90 %, nicht kondensierend
Schaltspannung: 230 V~ 50 Hz
Maximale Belastung: 230 V, 6 A ohmsch, 2 A induktiv
Abmessungen: 125 x 84 x 29 mm (B x H x T)
Batterie: 2 x1,5 V AA
Packungsinhalt
1. Thermostat
2. Schrauben (2 Stk.)
3. Dübel (2 Stk.)
4. Bedienungsanleitung
LCD Display
1. Temperatur
2. Anzeige des Temperaturmodus, Heizungsanzeige
3. Manuelle Bedienung
4. Funktion Ferien
5. Anzeige des Programmablaufes
6. Anzeige der schwachen Batterien – Aueuchten, wenn die Batterie-
spannung unter ein bestimmtes Niveau absinkt. In diesem Fall die
Batterie umgehend tauschen.
7. Zeit
8. Wochentag
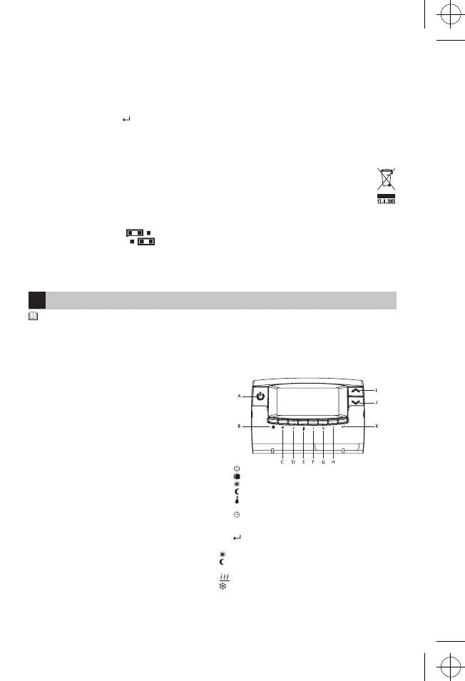
Vorderpaneel:
A. Einschalten / Ausschalten des Thermostates
B. Aktivierung der Funktion Ferien
C.
Komforttemperatur
D.
Spartemperatur
E.
Temperatureinstellung
F. S Hystereseeinstellung
G. Zeiteinstellung
H. P Temperaturprogrammeinstellung
I./J. ∧ ∨ Änderung der Zeit, Temperatur und des Tages
K. Wahlbestätigung, Rückgang in das Hauptmenü
Temperaturmodi
„Sonne“ – s.g. Komforttemperatur (Piktogramm auf dem Display)
„Mond“ – Spartemperatur (Piktogramm auf dem Display)
Beide Temperaturen kann man nach Bedarf wechseln.
- Aktivierter Heizungsmodus
„Schneeocke“ – aktivierter Kühlmodus
DE

Related product manuals