EasyManua.ls Logo

Emos P56211 - Page 27

Emos P56211
212 pages
Print Icon
To Next Page IconTo Next Page
To Next Page IconTo Next Page
To Previous Page IconTo Previous Page
To Previous Page IconTo Previous Page
Loading...
27
Umístění termostatu
Umístění termostatu (vysílací jednotky) výrazně ovlivňuje jeho funkci.
Zvolte místo, kde se nejčastěji zdržují členové rodiny, nejlépe u vnitřní zdi, kde
vzduch volně cirkuluje a kde nedopadá přímé sluneční záření.
Termostat neumísťujte do blízkosti tepelných zdrojů (televizorů, radiátorů,
chladniček) nebo do blízkosti dveří. Nedodržíte-li tato doporučení, nebude teplota
v místnosti udržována správně.
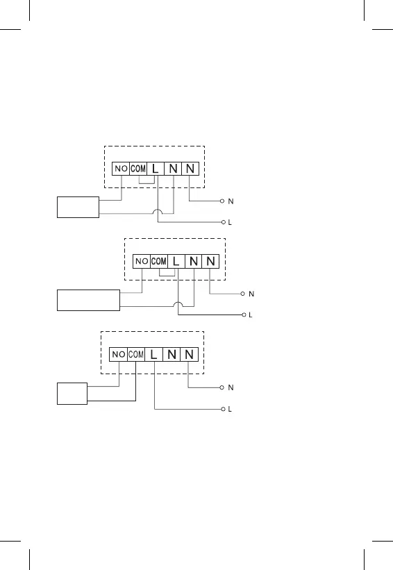
Schéma zapojení spínací jednotky
Schéma připojení čerpadla/motorizovaného ventilu
Čerpadlo/
ventil
Schéma připojení podlahového vytápění
Připojené
zařízení
Schéma připojení kotle
Kotel
Předinstalovaná drátová spojka nebude zapojena.

Related product manuals