EasyManua.ls Logo

Emos P56211 - Page 28

Emos P56211
212 pages
Print Icon
To Next Page IconTo Next Page
To Next Page IconTo Next Page
To Previous Page IconTo Previous Page
To Previous Page IconTo Previous Page
Loading...
28
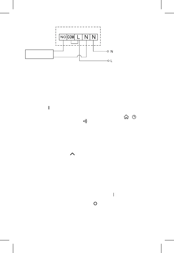
Schéma připojení expanzního ventilu/elektrického pohonu
Připojené
zařízení
UVEDENÍ DO ČINNOSTI
Spárování ovládací jednotky se spínací jednotkou
Před prvním použitím je nutné obě jednotky termostatu spárovat.
Spárování umožňuje přenos informací mezi ovládací a spínací jednotkou.
K nastavení se používá automatické spárování (self-learning).
1. Nasaďte termostat opatrně na stojánek.
Zapojte USB zdroj s micro USB kabelem do sítě 230 V, kabel zapojte do
stojánku.
2. Připojte správně spínací jednotku ke zdroji napětí, hlavní vypínač přepněte
do polohy a stiskněte dlouze (min. 10 sekund) tlačítko M/A, začne blikat
zelená dioda na tlačítku MANUAL.
3. Na termostatu (vysílači) stiskněte současně dlouze tlačítka a po dobu
cca 5 sekund, začne blikat ikona .
Do 1 minuty dojde ke spárování obou jednotek, zelená dioda na spínací jednotce
přestane blikat.
Pokud chcete změnit párovací kód obou jednotek nebo termostat nepracuje
správně, zopakujte celý postup spárování od bodu č. 1 – párovací kód se auto-
maticky přepíše.
Testování bezdrátové komunikace mezi jednotkami
1. V aplikaci nebo tlačítkem na termostatu nastavte hodnotu teploty o několik
stupňů vyšší, než je současná pokojová teplota.
2. Rozsvítí se červená LED dioda na spínací jednotce.
3. Pokud se LED dioda nerozsvítí, přemístěte ovládací jednotku blíže ke spínací
jednotce.
Dosah mezi ovládací a spínací jednotkou je max. 100 m v otevřeném prostoru.
Ve vnitřních prostorách se může dosah zmenšit z důvodu blokování signálu
stěnami a jinými překážkami.
Hlavní vypínač
Pro zapnutí spínací jednotky přepněte vypínač do polohy .
Pokud není vytápěcí systém delší dobu používán, doporučujeme spínací jednotku
vypnout (hlavní vypínač přepnout do polohy
).
LED indikátory (diody)
Automatický mód
V automatickém režimu bude červená LED dioda svítit při sepnutí výstupního
relé termostatem.

Related product manuals