EasyManua.ls Logo

ENCON Therma-Flow PLUS - Adjusting the Enclosure Doors

ENCON Therma-Flow PLUS
56 pages
Print Icon
To Next Page IconTo Next Page
To Next Page IconTo Next Page
To Previous Page IconTo Previous Page
To Previous Page IconTo Previous Page
Loading...
2 INSTALLATION
Therma-Flow
®
PLUS
IOM 09900002 Revision C 08/15/21
© 2021, Encon Safety Products, Inc.
2-9
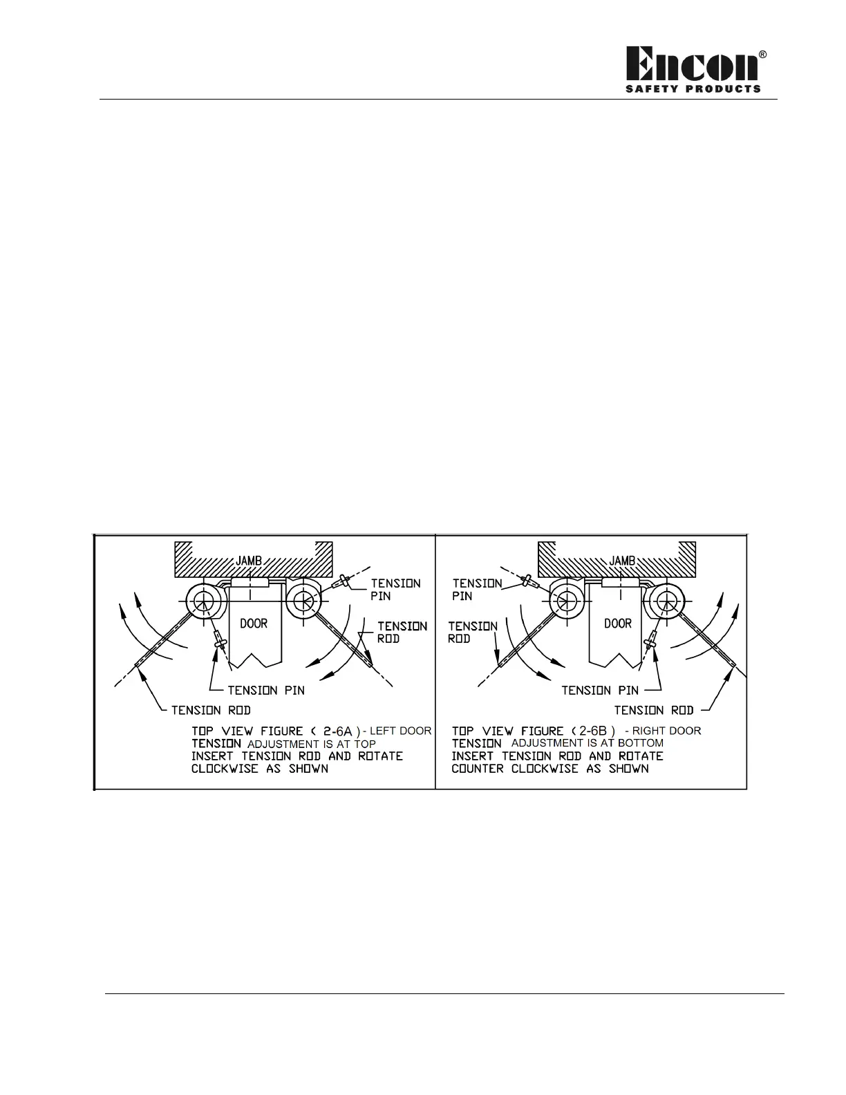
2.8 Adjusting the Enclosure Doors
Before shipping the unit to your location, Encon
®
sets the door springs to maximum
tension to prevent damage to the enclosure. You can adjust the spring tension so
that the doors will open and close easily. When you adjust the doors, ensure they
remain closed and there is enough resistance to prevent the wind
from opening them.
To adjust the door spring tension:
1. Insert a tension rod or 1/8” spring steel in the tension hole of the double acting
hinge.
2. Tighten the spring tension so that you can remove the tension pin.
3. Using the tension rod or drill bit, rotate the hinge in the direction of the arrow as
shown in Figure. 2-6. When you get the desired tension, re-insert the tension
pin and remove the tension rod or drill bit.
4. Repeat the procedure on all eight (8) adjustment points (four per door).
Figure 2-6. Setting the Door Hinge Tension.