EasyManua.ls Logo

Enerzone EB00005 - Compliance of a Combustible Mantel Shelf

Enerzone EB00005
60 pages
Print Icon
To Next Page IconTo Next Page
To Next Page IconTo Next Page
To Previous Page IconTo Previous Page
To Previous Page IconTo Previous Page
Loading...
Solution 1.8 Insert Installation and Operation Manual 31
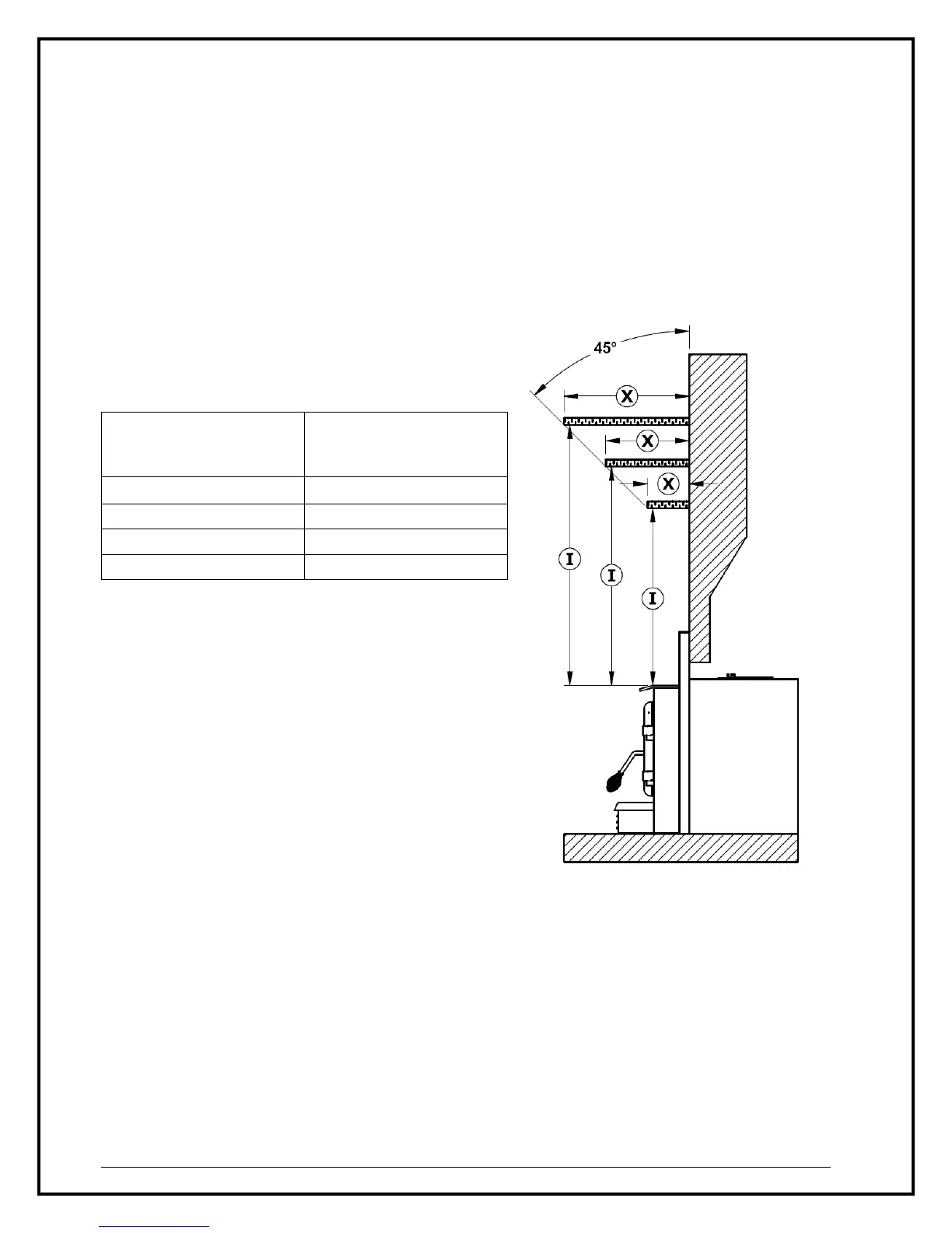
8.3 Compliance of a Combustible Mantel Shelf
To ensure compliance of an existing mantel shelf or to install a combustible mantel shelf, refer to
table and figure below. For example, a mantel shelf with a 6’’ depth (152 mm) ((X) value) must be
installed at least 29" (737 mm) ((I) value) above the top of the insert (see figure below). Different
mantel shelf dimensions are listed in the following table. However, no combustible mantel shelf can
be installed at less than 29" (737 mm) above the top of the insert. If the depth of the mantel shelf
is not listed in the table below, add 23" (584 mm) to the depth of your mantel shelf to obtain the
safe positioning of your mantel shelf. For example, for a 9" (229 mm) mantel shelf, the safe
positioning would be 32" (813 mm) above the top of the insert (23" (584 mm) + 9" (229 mm)).
MAXIMUM MANTEL
SHELF DIMENSION (X)
MANTEL SHELF
CLEARANCES
(I)
6" / 152 mm 29" (737 mm)
8" / 203 mm 31" (787 mm)
10" / 254 mm 33" (838 mm)
12" / 305mm 35" (889 mm)

Table of Contents