EasyManua.ls Logo

ep EPL154 - Control Handle and Key Switch Functions

Default Icon
80 pages
Print Icon
To Next Page IconTo Next Page
To Next Page IconTo Next Page
To Previous Page IconTo Previous Page
To Previous Page IconTo Previous Page
Loading...
REV. 09/2020
B5
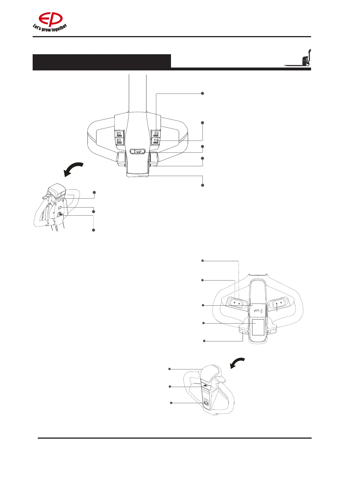
1.1.2 Control handle
1.Control handle A
Lowering button
Lower loading parts
Lifting button
Lift loading parts
Horn button
Send out sound warning signals
Driving switch
Controls travel direction and speed
Emergency reverse button
Through touching the button, truck
drives away from operator.
Display instrument
Display the electric quantity of the truck
Key switch
Connect and interrupt control current
Tortoise speed button
Key switch
Connect and interrupt control current
Emergency reverse button
Through touching the button, truck drives
away from operator.
Driving switch
Controls travel direction and speed
Horn button
Send out sound warning signals
Display instrument
Display the electric quantity of the truck
Lowering button
Lower loading parts
Lifting button
Lift loading parts
WPL201
EPL151/EPL154/
EPL185
2.Control handle B
Creep speed button

Related product manuals