EasyManua.ls Logo

E+E Elektronik EE33 - Mounting and Installation; Enclosure Mounting; Remote Sensing Probe Type T4, T5 Mounting

E+E Elektronik EE33
40 pages
Print Icon
To Next Page IconTo Next Page
To Next Page IconTo Next Page
To Previous Page IconTo Previous Page
To Previous Page IconTo Previous Page
Loading...
13
EE33 Humidity / Temperature Sensor for High Humidity and Chemical Applications
5 Mounting and Installation
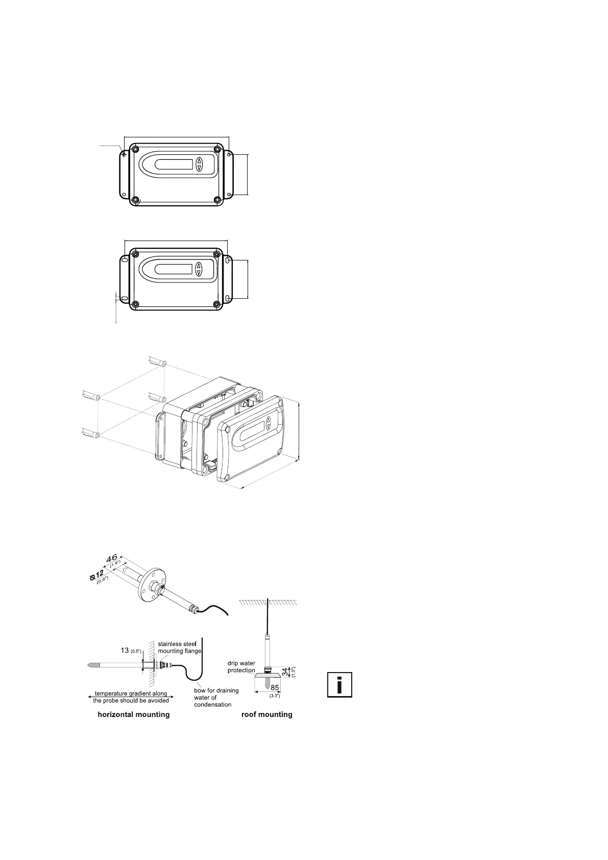
5.1 Enclosure
Drilling with long hole:
Drilling with round hole:
150 (6)
148 (5.8)
57 (2.24)
55 (2.16)
Ø4.2 (0.16)
4.5 (0.18)
Drill the mounting holes according to the mounting
pattern shown on the left.
Mount the bottom part of the enclosure with 4 screws
(screw diameter < 4.2 mm (0.2”); not included in the
scope of supply).
90
(3.5)
135
(5.3)
Establish the electrical connection
(see chapter 4.3).
Mount the middle part and the cover with
4 screws (included in the scope of supply).
5.2 Remote Sensing Probe Type T4, T5
Using the stainless steel mounting flange (refer
to accessories) it is possible to mount the probe
on the outer wall of the measuring chamber.
The depth of immersion is adjustable.
For roof installations use the drip water
protection (refer to accessories) to protect the
sensor head and elements against condensed
water.
The sensing probe must be mounted
horizontally or vertically, pointing
downwards. If possible, a drip sheet
should be fitted for each mounting.
Temperature range of sensing probe type T4: -40...120 °C
(-40...248 °F)
Temperature range of sensing probe type T5: -40...180 °C (-40...356 °F)

Table of Contents

Related product manuals