EasyManua.ls Logo

E+E Elektronik EE33 - Remote Sensing Probe Type T7 Mounting; Remote Sensing Probe Type T8 Mounting

E+E Elektronik EE33
40 pages
Print Icon
To Next Page IconTo Next Page
To Next Page IconTo Next Page
To Previous Page IconTo Previous Page
To Previous Page IconTo Previous Page
Loading...
14
EE33 Humidity / Temperature Sensor for High Humidity and Chemical Applications
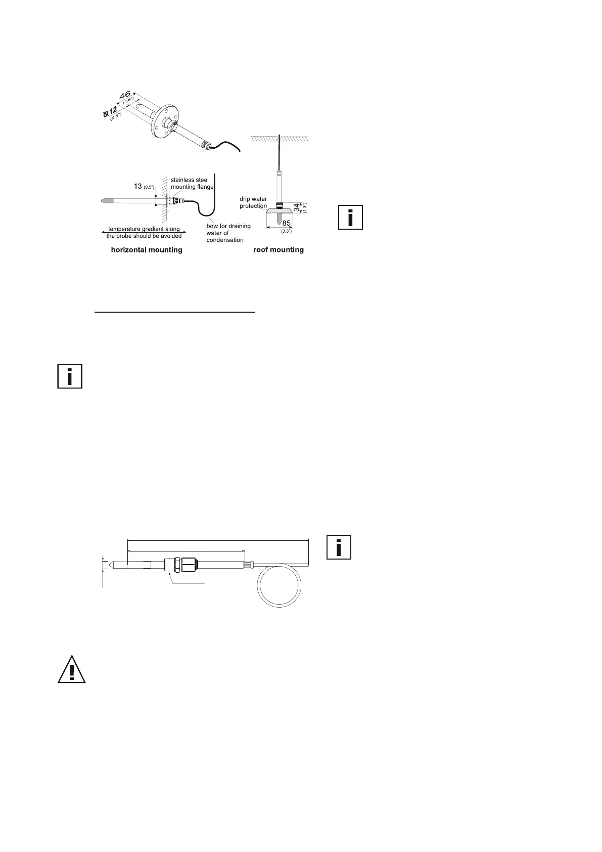
5.3 Remote Sensing Probe Type T7
Using the stainless steel mounting flange (refer
to accessories) it is possible to mount the probe
on the outer wall of the measuring chamber.
The depth of immersion is adjustable.
For roof installations use the drip water
protection (refer to accessories) to protect the
sensor head and elements against condensed
water.
The sensing probe must be mounted
horizontally or vertically, pointing
downwards. If possible, a drip sheet
should be fitted for each mounting.
Temperature range of sensing probe type T7: -40...180 °C
(-40...356 °F)
Pressure range of sensing probe type T7: 0.01...20 bar (0.15...300 psi)
Pressure tight screw connection:
The screw connection for pressure tight installation up to 15 bar
(218 psi) is available as an accessory
(see chapter 12 Replacement Parts / Accessories). For screw assembly refer to chapter 5.4 Remote
Sensing Probe Type T8.
Instructions for installation in a high-humidity environment:
If the process temperature differs significantly from the ambient temperature, the sensing probe should
be fully emerged in the process to avoid incorrect measurements and condensation problems on the
sensor head due to thermal conductivity.
It is recommended not to bring the sensing probe and colder metal parts in direct contact in order to avoid
condensation problems caused by thermal conductivity.
A 12 mm (1/2") mounting flange (HA010201) for the humidity probe is available as an accessories.
A 1/2" ISO (HA011102) and 1/2" NPT (HA011103) screw connection for the sensing probe is available as
an accessories.
5.4 Remote Sensing Probe Type T8
The sensing probe must be mounted
horizontally or vertically, pointing
downwards. If possible, a drip sheet should
be fitted for each mounting.
1/2" ISO or
1/2" NPT
code “cable length”
code “probe length”
12
(0.5")
Temperature range of sensing probe: 40...180 °C (-40...356 °F)
Pressure range of sensing probe: 0...100 bar (0...1 450 psi)
Safety instructions for pressure-tight feedthrough:
Do not assemble the probe and tighten the feedthrough if the plant is under pressure.
The plant must not be vented by releasing the nut (A).
Use appropriate seal on conical probe threads.
Never rotate the screw connection body (B) but hold the screw connection body (B) securely and turn
the nut (A).
Avoid unnecessary disassembly of pipe screw connections.
Position the cut in fitting >75 mm (2.95") from the end of the filter cap to the end of the fitting!
For a probe length of 65 mm a cut in fitting is not possible.

Table of Contents

Related product manuals