EasyManua.ls Logo

Epson HX-20 - Expansion

Epson HX-20
75 pages
Print Icon
To Next Page IconTo Next Page
To Next Page IconTo Next Page
To Previous Page IconTo Previous Page
To Previous Page IconTo Previous Page
Loading...
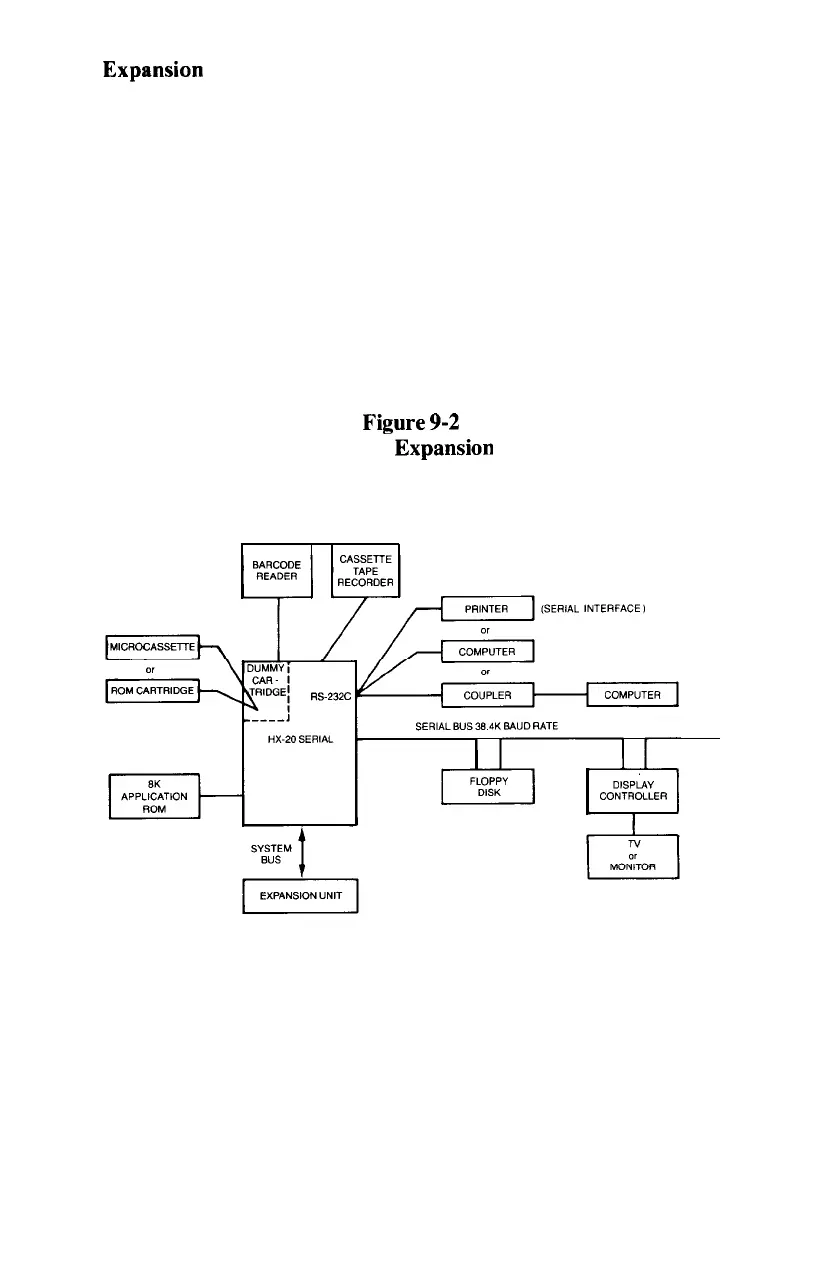
Expansion
Several options may be easily installed to expand the HX-20’s
capability, as shown in Figure 9-2. An expansion unit provides an
additional 32K of memory, which includes 16K of RAM. In
addition, an 8K application ROM may be installed internally. An
option ROM or microcassette cartridge may be installed in place of
the dummy cartridge.
Connectors located at the back of the HX-20 enable it to be
connected to a printer with a serial interface, a computer, or a
modem; and to a floppy disk unit and display controller via a serial
bus. A bar code reader and external cassette recorder may be
plugged into connectors located on the right side of the HX-20.
Figure
9-2
HX-20
Expansion
67

Other manuals for Epson HX-20

Related product manuals