EasyManua.ls Logo

ESAB A6S Arc Master - Page 48

ESAB A6S Arc Master
60 pages
Print Icon
To Next Page IconTo Next Page
To Next Page IconTo Next Page
To Previous Page IconTo Previous Page
To Previous Page IconTo Previous Page
Loading...
- 48 -
 *;#+>
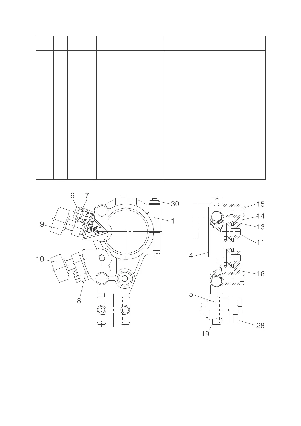
Item
no.
Qty Ordering no. Denomination Notes
0147639880 Wire straightener(right mounted)
1 1 0156449001 Clamp
4 1 0215503601 Insulating sleeve
5 1 0156530001 Clamp half D35
6 2 0212900001 Spacer screw
7 4 0215201209 Sealing, O-ring D11.3x2.4
8 2 0218400801 Pressure roller arm
9 1 0218810181 Handwheel, insulated
10 1 0218810182 Handwheel, insulated
11 3 0332408001 Stub shaft
13 3 0153148880 Pressure roller
14 1 0415498001 Pressure roller, upper
15 2 0212902601 Spacer screw
16 1 0415499001 Pressure roller, lower
19 2 0219501013 Spring washer D18.1/10.2
28 1 0156531001 Clamp half D35
30 1 0212 601110 Nut M10

Related product manuals