EasyManua.ls Logo

ESAB ESP-400C - Page 89

ESAB ESP-400C
120 pages
Print Icon
To Next Page IconTo Next Page
To Next Page IconTo Next Page
To Previous Page IconTo Previous Page
To Previous Page IconTo Previous Page
Loading...
SECTION 6 Troubleshooting
ESP 400C and 600C Plasma Power Sources
6-51
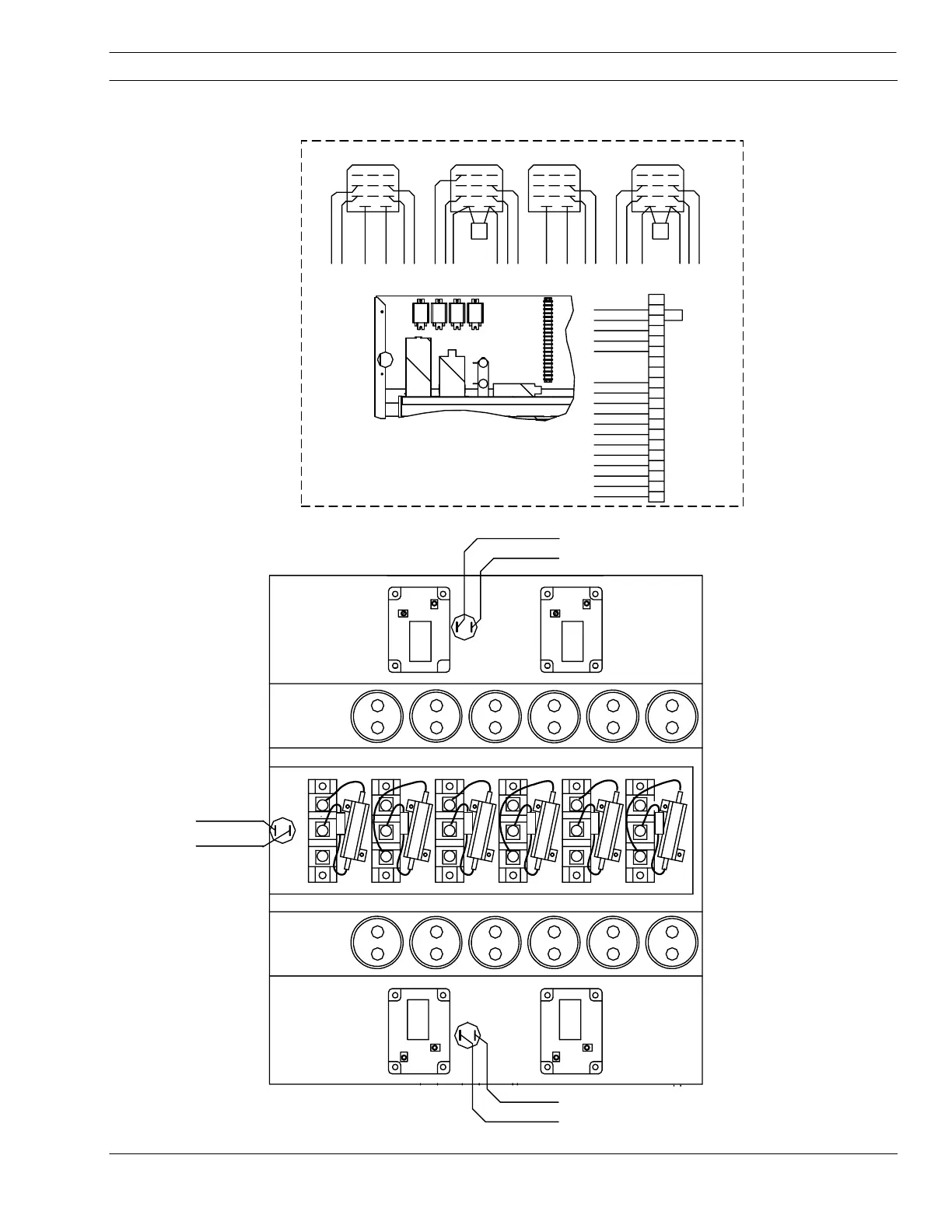
6.8 Wiring Diagrams – Drawing 5 – Part 2 575V 50H
z
(P/N 35880)
TB1-18 BRN
TS6
1
2
C2
C3
C4
C5
C6
C7
C8
C9 C10
C11 C12
D1
D2
D3
D4 D5
D6
R4
R5
R6
R7
R8
R9
1
2
1
2
TS5-1 WHT
TS1-2 WHT
TS5
TS4
C13
C14
C15
C16
C17
C18
1
2
3
1
2
3
1
2
3
3
2
1
3
2
1
3
2
1
RED
RED
RED
RED
RED
RED
C1
C1
TS5-1 WHT
TS1-2 WHT
TS5-2 WHT
1 2 3
4 5 6
7 8 9
1 2 3
4 5 6
7 8 9
1 2 3
4 5 6
7 8 9
1 2 3
4 5 6
7 8 9
A B
A BA BA B
C54
C53
K3
K6
K6
K7
T1-AX1 BLK
C25-2 GRY
TB1-18 BRN
TB9-16 WHT
C26-1 ORN
K3-9 YEL
TB8-9 GRY
TB8-10 BRN
PCB1 P3-2 BLU
TB9-22 BLK
TB7-8 RED
TB8-18 VIO
TB8-1 BLU
TB8-2 WHT
TB7-8 RED
TB9-22 BLK
T1-AX2 RED
C25-1 ORN
TB8-19 BLU
TB9-16 WHT
K7-6 YEL
TB9-22 BLK
K3K5
K6
K7
TB8
K3-A BLU
K6-6 VIO
TB9-17 WHT
T2-X4 RED
T2-X3 YEL
TB1-5 BLU
TB1-4 ORN
K6-7 BRN
K6-1 GRY
TB1-9 RED
TB1-7 BLK
PCB1 P4-5 YEL
PCB1 P4-4 VIO
PCB1 P2-2 ORN
PCB1 P2-3 BLK
K5-B WHT
K5-A BLU
20
19
18
17
16
15
14
13
12
11
10
9
8
7
6
5
4
3
2
1
JUMPER
TB8
VIEW J-J
VIEW F-F
(WITHOUT BUS BARS)
Note: From ESP-400C/600C//575V
Drawing No. 0558002852, sheet 5 of 5
OR

Table of Contents

Related product manuals