EasyManua.ls Logo

ESAB ESP-600C - Page 110

ESAB ESP-600C
120 pages
Print Icon
To Next Page IconTo Next Page
To Next Page IconTo Next Page
To Previous Page IconTo Previous Page
To Previous Page IconTo Previous Page
Loading...
SECTION 7 Replacement Parts
ESP 600C Plasma Power Source
7-10
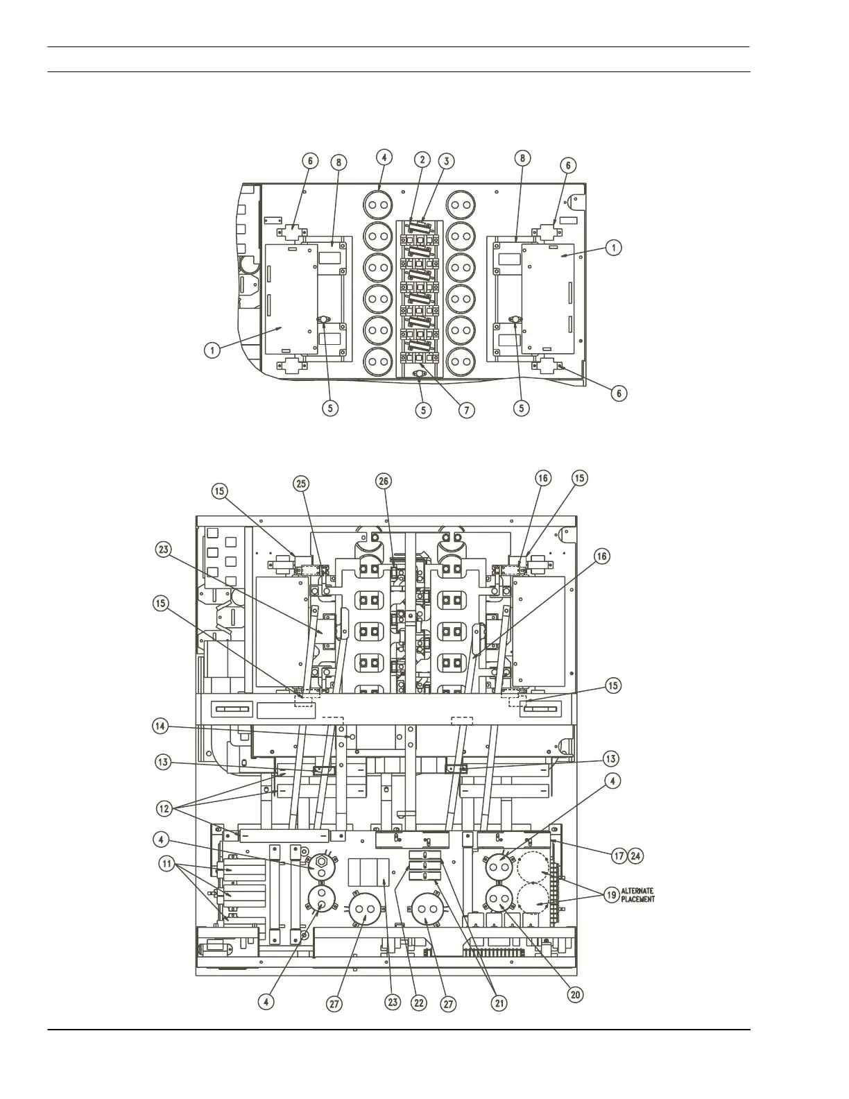
7.7 Top View

Related product manuals