EasyManua.ls Logo

Exerpeutic 5000 - Assembly Instructions

Exerpeutic 5000
37 pages
Print Icon
To Next Page IconTo Next Page
To Next Page IconTo Next Page
To Previous Page IconTo Previous Page
To Previous Page IconTo Previous Page
Loading...
11
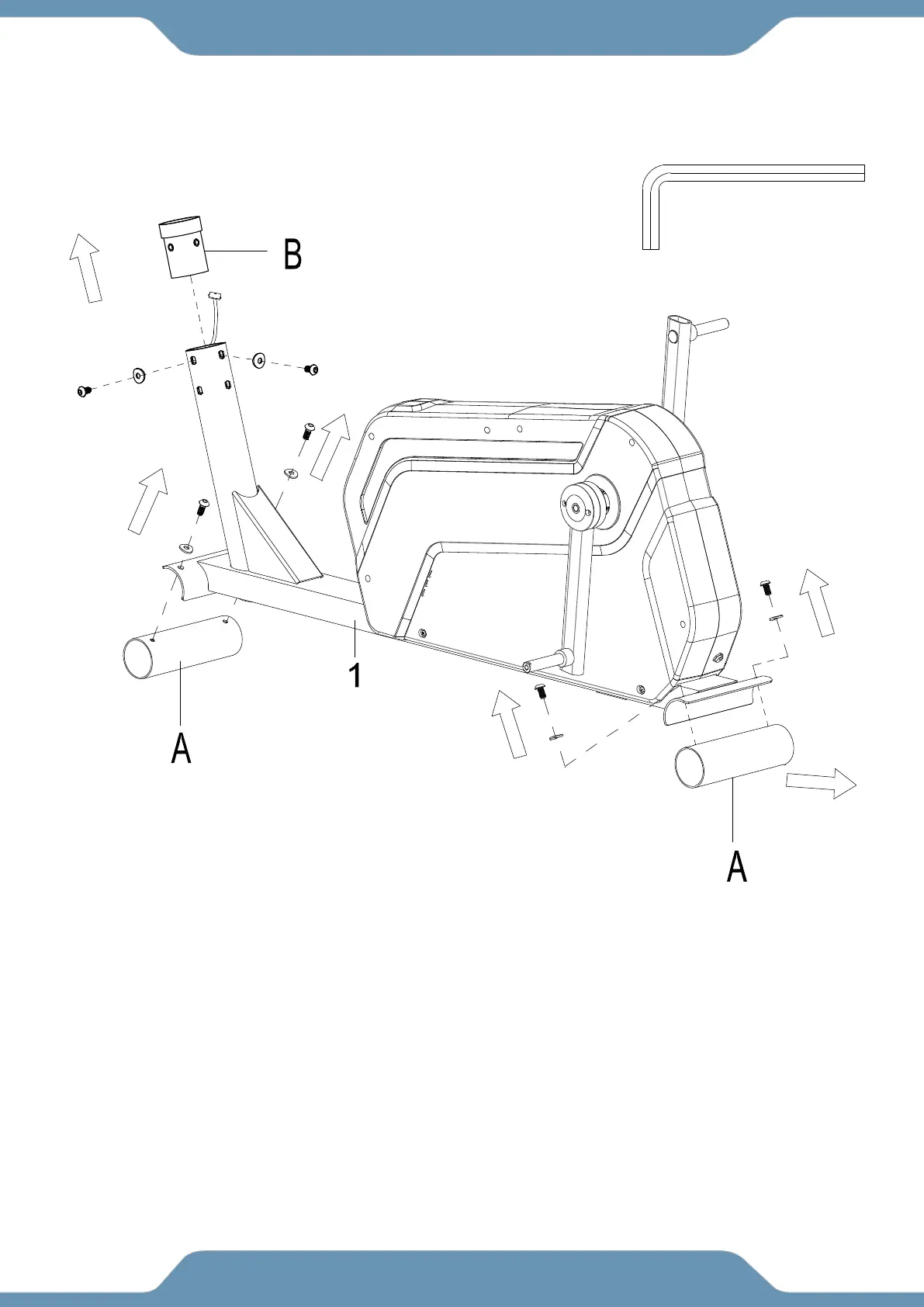
ASSEMBLY
Step 1
1a. Remove the Metal Tubes A & B from the Main Frame (1) by using 6mm Allen Wrench
provided.
1b. Discard the Metal Tubes A & B and the associated hardware at that was removed. These parts
are not needed for the assembly of the elliptical.
6 mm Allen Wrench
Tool:

Related product manuals